Help designing a database schema for a pizza store

懵懂的女人 提交于 2019-12-31 03:11:07

问题


Here's the script:

create table Customer
(
CustomerId int primary key identity(1,1),
Name nvarchar(64) not null,
LastName nvarchar(256) not null,
Telephone nvarchar(32),
MobilePhone nvarchar(32),
Address nvarchar(256)
)

create table Product
(
ProductId int primary key identity(1,1),
Name nvarchar(64),
Price decimal
)

create table StoreOrder
(
StoreOrderId int primary key identity(1,1),
Date datetime,
CustomerId int foreign key references Customer(CustomerId),
Total decimal
)

create table ProductStoreOrder
(
ProductStoreOrderId int primary key identity(1,1),
StoreOrderId int foreign key references StoreOrder(StoreOrderId),
ProductId int foreign key references Product(ProductId),
Quantity int
)

I'm confused on how to handle toppings. I should be able to add toppings in the database somewhere and create pizzas with N toppings, each topping should also have an associated price.

I could create a Toppings table and associate it to Product but not every product has a topping. For example, bread sticks, a diet soda, a salad, etc.

What would be the best way to handle this situation? Also, any comments on the database design so far?

Thank you for your time.


回答1:


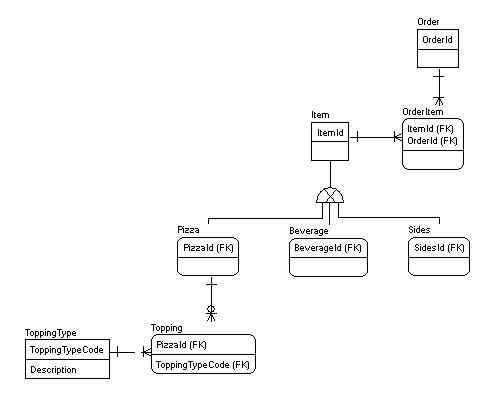
I think this is a good candidate to utilize a super/subtype DB design. Here is a quick drawing that I believe addresses the concerns you have at this point. This is just the base, you can take it and fill in the needed attributes and pricing as you are concerned about.




回答2:


You can try something like :

  • Pizzas, soda, sticks, salad are products table.
  • Products have many Toppings (foreign key of both table in a join table, price deported in the this join table )

After you can define products "template" in an another table, to define category and if product have Toppings or other special attributes.




回答3:


Go with @Andy 's suggestion, or add a boolean to the product table indicating whether the product is a topping or not.



来源:https://stackoverflow.com/questions/5419931/help-designing-a-database-schema-for-a-pizza-store

易学教程内所有资源均来自网络或用户发布的内容,如有违反法律规定的内容欢迎反馈
该文章没有解决你所遇到的问题?点击提问,说说你的问题,让更多的人一起探讨吧!