空间描述概述
机器人操作的定义是指通过某种机构使零件和工具在空间运动,这自然就需要表达零件、工具以及机构本身的位置和姿态。为了定义和运用表达位姿的数学量,我们必须定义坐标系并给出表达的规则。
我们采用这样的一个体系,即存在着一个世界坐标系,我们所定义的位姿都是参照世界坐标系或者由世界坐标系定义的笛卡尔坐标系。
位置描述
一旦建立了坐标系,我们就能用一个3×1的位置矢量对坐标系中的任意点进行定位。因为经常在世界坐标系中还要定义许多坐标系,因此必须在位置矢量上附加一信息,表明是在哪一个坐标系中定义的。
如图中的点AP用一个矢量表示为:AP = [ px py pz ]T,其中 px 、py 和pz分别为该矢量在X轴、Y轴和Z轴方向上的投影的长度。
姿态描述
单靠位置矢量还不足以准确描述机械手的位置,还要有关于其姿态的描述才能完全确定其位置。为了描述物体的姿态,需在物体上固定一个坐标系,并给出该坐标系相对于参考坐标系的表达。
如图中的坐标系{B}以某种方式固定在机械手上,则{B}相对于参考坐标系{A}的表达可描述该机械手的姿态。
用XB、YB和ZB表示坐标系{B}主轴方向的单位矢量,它们在参考坐标系{A}上的表达为:AXB、AYB和AZB,则将这三个单位矢量按顺序组成一个3×3的旋转矩阵,并用 表示:
可以看出该矩阵的行是{A}的主轴方向的单位矢量在{B}中的表达,即

设为{A}相对于{B}的旋转矩阵,则有: = T。
由于T = E3×3,因此 = -1 = T,这表明旋转矩阵的逆矩阵等于它的转置矩阵。
坐标系的描述
在机器人学中,位置和姿态经常成对出现,通常简称为位姿,并用它们来描述坐标系,即一个坐标系可以等价地用一个位置矢量和一个旋转矩阵来描述。例如,用和APBORG来描述坐标系{B},其中APBORG是确定{B}的原点相对于{A}的原点的位置的位置矢量,则:{B} = {,APBORG}。
映射:坐标系间的变换
在机器人学的许多问题中,需要用不同的参考坐标系来表达同一个量,这就涉及到不同坐标系间的变换。
平移坐标系
如图,两个坐标系{A}与{B}的姿态相同,{B}不同于{A}的只是平移,即相当于{A}沿着矢量APBORG移动到点PBORG处,形成了{B}。当点P相对{B}的表示已知时,可用矢量相加的方法求点P相对{A}的表示:AP = BP + APBORG。
旋转坐标系
已知,旋转矩阵各列的模均为1,且这些单位矢量相互正交;{B}相对于{A}的描述为:,其中,的列是{B}的单位矢量在{A}中的描述,行是{A}的单位矢量在{B}中的描述。
如图,两个坐标系原点重合,而坐标轴不重合。则当矢量BP已知时,求AP:AP = BP。
的作用就是将相对于坐标系{B}描述的矢量BP映射到相对于参考坐标系{A}描述的矢量AP。注意,变的只是对于矢量相对于不同坐标系的描述,而该矢量在空间的位置并没有发生改变。
一般坐标系
如图,可见,这是平移和旋转的结合,则当BP已知时,求AP:
AP = BP + APBORG。
还可以这样描述:AP = BP,其中 为矩阵算子(也称为齐次变换矩阵),表示从一个坐标系到另一个坐标系的映射,具体描述:
坐标系{B}相对于参考坐标系{A}的变换可描述为:。
混合变换
如图,有三个不同的坐标系,每个坐标系相对于前一个坐标系是已知的,即齐次变换矩阵已知。已知CP,求AP:AP = CP。
也可先计算出: = ,再求得AP:AP = CP。
由于{B}和{C}的描述已知,的计算可简化为:
逆变换
已知,求的运算称为逆变换。
其中,的求解步骤:
B() = + = 0
= —
又 =
故 = —
变换方程
如图,坐标系{D}可用两种不同的方式表达:
=
=
则两个表达式构成一个变换方程:
= 
若 未知,而其它的变换都是已知的,则有:
=
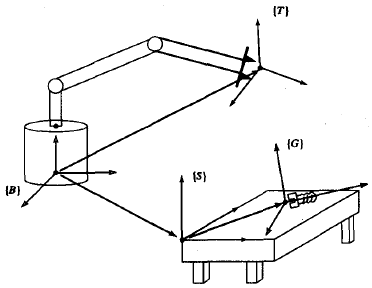
如图,这是一个机械臂操作示意图。易求得螺栓相对于机械臂末端的位姿:
= 
X-Y-Z固定角坐标系
一开始,坐标系{B}和参考坐标系{A}是重合的。先将{B}绕XA旋转 γ 角,再绕YA旋转 β 角,最后绕ZA旋转 α 角。每个旋转都是绕着固定参考坐标系{A}的轴,故这种姿态的表示法称为X-Y-Z固定角坐标系。
则{B}的姿态描述:
其中,cα 是 cosα 的简写,sα 是 sinα 的简写,其它的同理。

逆解问题
逆解问题,就是已知旋转矩阵(γ,β,α),求各旋转角度γ,β,α。
令
则可得
其中,Atan2(y,x)表示一个反正切函数。
由于会存在两种解,一般取β的正根,这满足 -90° ≤ β ≤ 90° 。
如果 β = ± 90°,一般取 α = 0,以计算出 γ 。
Z-Y-X欧拉角
与X-Y-Z固定角表示法不同的是,Z-Y-X欧拉角表示法的旋转顺序相反,依次是绕着Z,Y和X轴旋转α角、β角和γ角。
最后,得出的结果与固定角坐标系的相同
则其逆解运算可用固定角的逆解求解公式求解。
来源:https://blog.csdn.net/qq_42386127/article/details/98438313