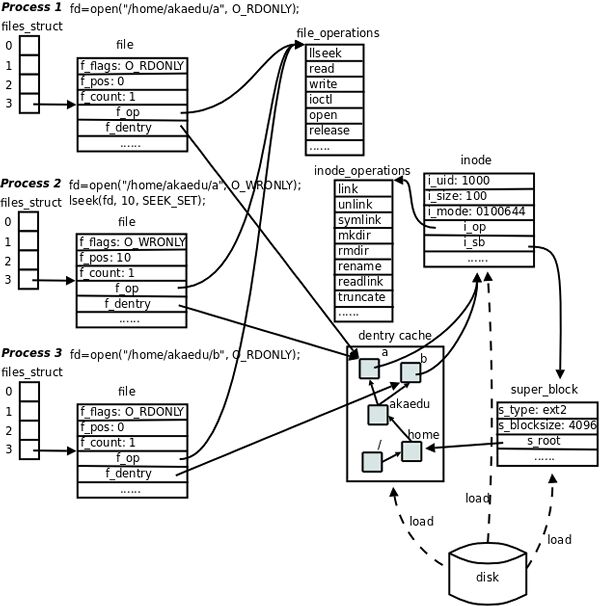
当我们打开一个文件时,主要涉及了进程,文件描述符,文件描述表,打开文件表,目录项,索引表之间的联系。
今天主要围绕这几个图来说


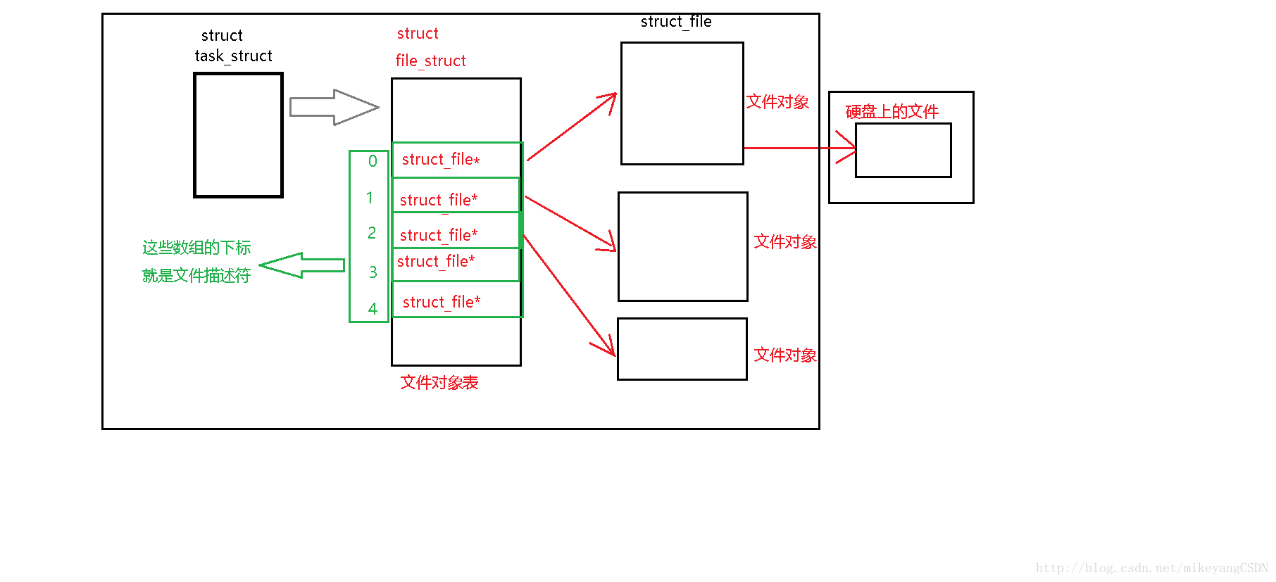
第一进程控制块PCB与文件描述符的关系
在进程控制块维护一个指向files-structure的结构体(可以看作是一个指向file结构体的指针数组 *file[n]),而所谓的文件描述符就是这个表的索引(就是数组的下标),表中存储的是一个指针(数组的类型),指向files结构体。
file结构体—文件控制块
struct file {
union {
struct llist_node fu_llist;
struct rcu_head fu_rcuhead;
} f_u;
struct path f_path;
#define f_dentry f_path.dentry
struct inode *f_inode; /* cached value */
const struct file_operations *f_op;
/*
* Protects f_ep_links, f_flags.
* Must not be taken from IRQ context.
*/
spinlock_t f_lock;
atomic_long_t f_count;
unsigned int f_flags;
fmode_t f_mode;
struct mutex f_pos_lock;
loff_t f_pos;
struct fown_struct f_owner;
const struct cred *f_cred;
struct file_ra_state f_ra;
u64 f_version;
#ifdef CONFIG_SECURITY
void *f_security;
#endif
/* needed for tty driver, and maybe others */
void *private_data;
#ifdef CONFIG_EPOLL
/* Used by fs/eventpoll.c to link all the hooks to this file */
struct list_head f_ep_links;
struct list_head f_tfile_llink;
#endif /* #ifdef CONFIG_EPOLL */
struct address_space *f_mapping;
#ifdef CONFIG_DEBUG_WRITECOUNT
unsigned long f_mnt_write_state;
#endif
} __attribute__((aligned(4))); /* lest something weird decides that 2 is OK */
struct file
file结构体中主要的属性
1.file.File Status Flag和file.f_count
在file结构体中维护File Status Flag(file结构体的成员f_flags)和当前读写位置(file结构体的成员f_pos)。在上图中,进程1和进程2都打开同一文件,但是对应不同的file结构体,因此可以有不同的File Status Flag和读写位置。file结构体中比较重要的成员还有f_count,表示引用计数(Reference Count),后面我们会讲到,dup、fork等系统调用会导致多个文件描述符指向同一个file结构体,例如有fd1和fd2都引用同一个file结构体,那么它的引用计数就是2,当close(fd1)时并不会释放file结构体,而只是把引用计数减到1,如果再close(fd2),引用计数就会减到0同时释放file结构体,这才真的关闭了文件。
2.file.file_operations
每个file结构体都指向一个file_operations结构体,这个结构体的成员都是函数指针,指向实现各种文件操作的内核函数。比如在用户程序中read一个文件描述符,read通过系统调用进入内核,然后找到这个文件描述符所指向的file结构体,找到file结构体所指向的file_operations结构体,调用它的read成员所指向的内核函数以完成用户请求(应用层到内核层的调用流程)。在用户程序中调用lseek、read、write、ioctl、open等函数,最终都由内核调用file_operations的各成员所指向的内核函数完成用户请求。file_operations结构体中的release成员用于完成用户程序的close请求,之所以叫release而不叫close是因为它不一定真的关闭文件,而是减少引用计数,只有引用计数减到0才关闭文件。对于同一个文件系统上打开的常规文件来说,read、write等文件操作的步骤和方法应该是一样的,调用的函数应该是相同的,所以图中的三个打开文件的file结构体指向同一个file_operations结构体。如果打开一个字符设备文件,那么它的read、write操作肯定和常规文件不一样,不是读写磁盘的数据块而是读写硬件设备,所以file结构体应该指向不同的file_operations结构体(也就有了用户自定义结构体对象或者内核自定义结构体对象),其中的各种文件操作函数由该设备的驱动程序实现。
来看一下file.file-operations结构体
struct file_operations {
struct module *owner;
loff_t (*llseek) (struct file *, loff_t, int);
ssize_t (*read) (struct file *, char __user *, size_t, loff_t *);
ssize_t (*write) (struct file *, const char __user *, size_t, loff_t *);
ssize_t (*aio_read) (struct kiocb *, const struct iovec *, unsigned long, loff_t);
ssize_t (*aio_write) (struct kiocb *, const struct iovec *, unsigned long, loff_t);
int (*iterate) (struct file *, struct dir_context *);
unsigned int (*poll) (struct file *, struct poll_table_struct *);
long (*unlocked_ioctl) (struct file *, unsigned int, unsigned long);
long (*compat_ioctl) (struct file *, unsigned int, unsigned long);
int (*mmap) (struct file *, struct vm_area_struct *);
int (*open) (struct inode *, struct file *);
int (*flush) (struct file *, fl_owner_t id);
int (*release) (struct inode *, struct file *);
int (*fsync) (struct file *, loff_t, loff_t, int datasync);
int (*aio_fsync) (struct kiocb *, int datasync);
int (*fasync) (int, struct file *, int);
int (*lock) (struct file *, int, struct file_lock *);
ssize_t (*sendpage) (struct file *, struct page *, int, size_t, loff_t *, int);
unsigned long (*get_unmapped_area)(struct file *, unsigned long, unsigned long, unsigned long, unsigned long);
int (*check_flags)(int);
int (*flock) (struct file *, int, struct file_lock *);
ssize_t (*splice_write)(struct pipe_inode_info *, struct file *, loff_t *, size_t, unsigned int);
ssize_t (*splice_read)(struct file *, loff_t *, struct pipe_inode_info *, size_t, unsigned int);
int (*setlease)(struct file *, long, struct file_lock **);
long (*fallocate)(struct file *file, int mode, loff_t offset,
loff_t len);
int (*show_fdinfo)(struct seq_file *m, struct file *f);
};
struct file_operations
3.file.dentry
每个file结构体都有一个指向dentry结构体的指针,“dentry”是directory entry(目录项)的缩写。我们传给open、stat等函数的参数的是一个路径,例如/home/akaedu/a,需要根据路径找到文件的inode。为了减少读盘次数,内核缓存了目录的树状结构,称为dentry cache(作用),其中每个节点是一个dentry结构体,只要沿着路径各部分的dentry搜索即可,从根目录/找到home目录,然后找到akaedu目录,然后找到文件a。dentry cache只保存最近访问过的目录项,如果要找的目录项在cache中没有,就要从磁盘读到内存中。
4.dentry.inode
每个dentry结构体都有一个指针指向inode结构体。inode结构体保存着从磁盘inode读上来的信息。在上图的例子中,有两个dentry,分别表示/home/akaedu/a和/home/akaedu/b,它们都指向同一个inode,说明这两个文件互为硬链接。inode结构体中保存着从磁盘分区的inode读上来信息,例如所有者、文件大小、文件类型和权限位等(inode有哪些参数,正常理解file结构体可能包含这些信息,其实是file.inode成员管理这些信息)。每个inode结构体都有一个指向inode_operations结构体的指针,后者也是一组函数指针指向一些完成文件目录操作的内核函数。和file_operations不同,inode_operations所指向的不是针对某一个文件进行操作的函数,而是影响文件和目录布局的函数,例如添加删除文件和目录、跟踪符号链接等等,属于同一文件系统的各inode结构体可以指向同一个inode_operations结构体。
5.inod.super_block
inode结构体有一个指向super_block结构体的指针。super_block结构体保存着从磁盘分区的超级块读上来的信息,例如文件系统类型、块大小等。super_block结构体的s_root成员是一个指向dentry的指针,表示这个文件系统的根目录被mount到哪里,在上图的例子中这个分区被mount到/home目录下。
再来看看dentry结构体
struct dentry {
90 atomic_t d_count; //使用计数(打开同一两次count=2)
91 unsigned int d_flags; //目录项标时
92 spinlock_t d_lock; //单目录锁
93 int d_mounted; //目录项的安装点
94 struct inode *d_inode; //与该目录项相关联的索引节点 (dentry所指的inode,)
95
96 /*
97 * The next three fields are touched by __d_lookup. Place them here
98 * so they all fit in a cache line.
99 */
100 struct hlist_node d_hash; //散列表
101 struct dentry *d_parent; //父目录项
102 struct qstr d_name; //目录项名可快速查找
103
104 struct list_head d_lru; // 未使用目录以LRU 算法链接的链表
105 /*
106 * d_child and d_rcu can share memory
107 */
108 union {
109 struct list_head d_child; /* child of parent list */
110 struct rcu_head d_rcu;
111 } d_u;
112 struct list_head d_subdirs; //该目录项子目录项所形成的链表
113 struct list_head d_alias; //索引节点别名链表
114 unsigned long d_time; //重新生效时间
115 const struct dentry_operations *d_op; // 操作目录项的函数
116 struct super_block *d_sb; //目录项树的根
117 void *d_fsdata; //具体文件系统的数据
118
119 unsigned char d_iname[DNAME_INLINE_LEN_MIN]; //短文件名
120};
1>索引节点中的i_dentry指向了它目录项,目录项中的d_alias,d_inode又指会了索引节点对象,目录项中的d_sb又指回了超级块对象。
2>我们可以看到不同于VFS 中的索引节点对象和超级块对象,目录项对象中没有对应磁盘的数据结构,所以说明目录项对象并没有真正标存在磁盘上,那么它也就没有脏标志位。
3>目录项的状态(被使用,未被使用和负状态)
a.它们是靠d_count的值来进行区分的,当d_count为正值说明目录项处于被使用状态。当d_count=0时表示该目录项是一个未被使用的目录项, 但其d_inode指针仍然指向相关的的索引节点。该目录项仍然包含有效的信息,只是当前没有人引用他。d_count=NULL表示负(negative)状态,与目录项相关的inode对象不复存在(相应的磁盘索引节点可能已经被删除),dentry对象的d_inode 指针为NULL。但这种dentry对象仍然保存在dcache中,以便后续对同一文件名的查找能够快速完成。这种dentry对象在回收内存时将首先被释放。
4> d_subdirs:如果当前目录项是一个目录,那么该目录下所有的子目录形成一个链表。该字段是这个链表的表头;
d_child:如果当前目录项是一个目录,那么该目录项通过这个字段加入到父目录的d_subdirs链表当中。这个字段中的next和prev指针分别 指向父目录中的另外两个子目录;
d_alias:一个inode可能对应多个目录项,所有的目录项形成一个链表。inode结构中的i_dentry即为这个链表的头结点。当前目录项以这个字段处于i_dentry链表中。该字段中的prev和next指针分别指向与该目录项同inode的其他两个(如果有的话)目录项
3.dentry和inode的区别:
inode(可理解为ext2 inode)对应于物理磁盘上的具体对象,dentry是一个内存实体,其中的d_inode成员指向对应的inode。也就是说,一个inode可以在运行的时候链接多个dentry,而d_count记录了这个链接的数量。
4.dentry与dentry_cache
dentry_cache简称dcache,中文名称是目录项高速缓存,是Linux为了提高目录项对象的处理效率而设计的。它主要由两个数据结构组成:
1>哈希链表dentry_hashtable:dcache中的所有dentry对象都通过d_hash指针域链到相应的dentry哈希链表中。
2>未使用的dentry对象链表dentry_unused:dcache中所有处于unused状态和negative状态的dentry对象都通过其d_lru指针域链入dentry_unused链表中。该链表也称为LRU链表。
目录项高速缓存dcache是索引节点缓存icache的主控器(master),也即 dcache中的dentry对象控制着icache中的inode对象的生命期转换。无论何时,只要一个目录项对象存在于dcache中(非 negative状态),则相应的inode就将总是存在,因为 inode的引用计数i_count总是大于0。当dcache中的一个dentry被释放时,针对相应inode对象的iput()方法就会被调用。
file、dentry、inode、super_block这几个结构体组成了VFS的核心概念。对于ext2文件系统来说,在磁盘存储布局上也有inode和超级块的概念,所以很容易和VFS中的概念建立对应关系。而另外一些文件系统格式来自非UNIX系统(例如Windows的FAT32、NTFS),可能没有inode或超级块这样的概念,但为了能mount到Linux系统,也只好在驱动程序中硬凑一下,在Linux下看FAT32和NTFS分区会发现权限位是错的,所有文件都是rwxrwxrwx,因为它们本来就没有inode和权限位的概念,这是硬凑出来的。
dentry.operations
struct dentry_operations {
135 int (*d_revalidate)(struct dentry *, struct nameidata *);
136 int (*d_hash) (struct dentry *, struct qstr *);
137 int (*d_compare) (struct dentry *, struct qstr *, struct qstr *);
138 int (*d_delete)(struct dentry *);
139 void (*d_release)(struct dentry *);
140 void (*d_iput)(struct dentry *, struct inode *);
141 char *(*d_dname)(struct dentry *, char *, int);
142};
1.int d_reavlidate(struct dentry *dentry ,int flags) 该函数判断目录对象是否有效。VFS准备从dcache中使用一个目录项时,会调用该函数.
2.int d_hash(struct dentry *dentry ,struct qstr *name):该目录生成散列值,当目录项要加入到散列表时,VFS要调用此函数。
3.int d_compare( struct dentry *dentry, struct qstr *name1, struct qstr *name2) 该函数来比较name1和name2这两个文件名。使用该函数要加dcache_lock锁。
4.int d_delete(struct dentry *dentry):当d_count=0时,VFS调用次函数。使用该函数要叫 dcache_lock锁。
5.void d_release(struct dentry *dentry):当该目录对象将要被释放时,VFS调用该函数。
6.void d_iput(struct dentry *dentry,struct inode *inode)当一个目录项丢失了其索引节点时,VFS就掉用该函数。
inode
struct inode {
unsigned long i_ino;
atomic_t i_count; //硬链接计数
umode_t i_mode;
unsigned int i_nlink;
uid_t i_uid; //文件使用者
gid_t i_gid;
dev_t i_rdev;
loff_t i_size; //文件大小
struct timespec i_atime;
unsigned long i_blocks;
unsigned short i_bytes;
unsigned char _sock; //socket接口
12
struct inode_operations *i_op; //inode 的函数,例如删除文件
struct file_operations *i_fop; /* former ->i_op->default_file_ops */
struct super_block *i_sb; //指向文件系统的超级块,确定inode属于哪个文件系统
......
};
所上讲解的dentry和inode是相对于内核的,是相对于虚拟文件系统的,不是相对于磁盘上的文件系统,
对于ext2文件系统来说,在磁盘存储布局上也有inode和超级块的概念,所以很容易和VFS中的概念建立对应关系。而另外一些文件系统格式来自非UNIX系统(例如Windows的FAT32、NTFS),可能没有inode或超级块这样的概念,但为了能mount到Linux系统,也只好在驱动程序中硬凑一下,在Linux下看FAT32和NTFS分区会发现权限位是错的,所有文件都是rwxrwxrwx,因为它们本来就没有inode和权限位的概念,这是硬凑出来的。
来源:CSDN
作者:Flower-Cui
链接:https://blog.csdn.net/weixin_43408374/article/details/104770835