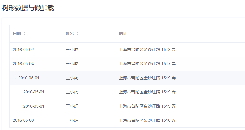
最近在vue项目中用到了表格树,like this
element-ui以前是不支持表格树的,谁曾想,随着它的升级,居然也支持表格树了
我忙前忙后忙活半天,各种百度,最后弄出来了,发现element-ui支持表格树了,,这找谁说理去?于是我找了个墙角冷静了一会,最终决定还是把代码发上来,供大家参考吧!
既然是表格树,那么就是一个组件,我直接上代码了,我决定直接开始装逼!
1.TreeGrid.vue
<template>
<el-table :data="data" border style="width: 100%" :height="height" :row-style="showTr" size="mini">
<el-table-column v-for="(column,index) in columns" :key="column.dataIndex" :label="column.text" show-overflow-tooltip>
<template slot-scope="scope">
<span v-if="spaceIconShow(index)" v-for="(space, levelIndex) in scope.row._level" class="ms-tree-space"></span>
<i v-if="!scope.row._expanded && toggleIconShow(index,scope.row)" class="el-icon-caret-right" aria-hidden="true" @click="toggle(scope.$index)"></i>
<i v-if="scope.row._expanded && toggleIconShow(index,scope.row)" class="el-icon-caret-bottom" aria-hidden="true" @click="toggle(scope.$index)"></i>
<span>
{{scope.row[column.dataIndex]}}
</span>
</template>
</el-table-column>
</el-table>
</template>
<script src="./index.js"></script>
<style lang="scss" scoped src="./index.scss"></style>
2.index.scss
.ms-tree-space {
position:relative;
top:1px;
display:inline-block;
font-family:"Glyphicons Halflings";
font-style:normal;
font-weight:400;
line-height:1;
width:18px;
height:14px;
}
.ms-tree-space::before {
content:"";
}
table td {
line-height:26px;
}
3.index.js
import tool from '../../server/tool';
// import Vue from 'vue'
export
default {
name: 'TreeGrid',
props: {
// 该属性是确认父组件传过来的数据是否已经是树形结构了,如果是,则不需要进行树形格式化
treeStructure: {
type: Boolean,
default: function () {
return false
}
},
height: {
type: Number,
default: function () {
return 500
}
},
more: {
type: Boolean,
default: function () {
return false
}
},
// 这是相应的字段展示
columns: {
type: Array,
default: function () {
return []
}
},
// 这是数据源
dataSource: {
type: Array,
default: function () {
return []
}
},
// 这个作用是根据自己需求来的,比如在操作中涉及相关按钮编辑,删除等,需要向服务端发送请求,则可以把url传过来
requestUrl: {
type: String,
default: function () {
return ''
}
},
// 这个是是否展示操作列
treeType: {
type: String,
default: function () {
return 'normal'
}
},
// 是否默认展开所有树
defaultExpandAll: {
type: Boolean,
default: function () {
return false
}
}
},
data() {
return {}
},
computed: {
// 格式化数据源
data: function () {
let me = this
if (me.treeStructure) {
let data = tool.treeToArray(me.dataSource, null, null, me.defaultExpandAll)
return data
}
return me.dataSource
}
},
methods: {
// 显示行
showTr(row, index) {
let show = (row.row._parent ? (row.row._parent._expanded && row.row._parent._show) : true)
row.row._show = show
return show ? '' : 'display:none;'
},
// 展开下级
toggle(trIndex) {
let me = this
let record = me.data[trIndex]
record._expanded = !record._expanded
},
// 显示层级关系的空格和图标
spaceIconShow(index) {
let me = this
if (me.treeStructure && index === 0) {
return true
}
return false
},
// 点击展开和关闭的时候,图标的切换
toggleIconShow(index, record) {
let me = this
if (me.treeStructure && index === 0 && record.children && record.children.length > 0) {
return true
}
return false
},
}
}
上面引用了一个tool.js,那么我把它也放出来
import Vue from 'vue';
export default{
treeToArray(data, parent, level, expandedAll){
let tmp = []
Array.from(data).forEach((record) => {
if(record._expanded === undefined) {
Vue.set(record, '_expanded', expandedAll)
}
if(parent) {
Vue.set(record, '_parent', parent)
}
let _level = 0
if(level !== undefined && level !== null) {
_level = level + 1
}
Vue.set(record, '_level', _level)
tmp.push(record)
if(record.children && record.children.length > 0) {
let children = this.treeToArray(record.children, record, _level, expandedAll)
tmp = tmp.concat(children)
}
})
return tmp;
}
}
这样就大功告成了,使用的话就是这个样子滴
<TreeGrid :columns="columns" :tree-structure="true" :data-source="dataSource" :height = "tableHeight"></TreeGrid>
columns: [
{
text: '数据集名称',
dataIndex: 'name'
},
{
text: '增量记录数',
dataIndex: 'age'
},
{
text: '收藏次数',
dataIndex: 'sex'
}
],
dataSource: [
{
id: 1,
parentId: 0,
name: '测试1',
age: 18,
sex: '男',
children: [
{
id: 2,
parentId: 1,
name: '测试2',
age: 22,
sex: '男'
}
]
},
{
id: 3,
parentId: 0,
name: '测试3',
age: 23,
sex: '女',
children: [
{
id: 4,
parentId: 3,
name: '测试4',
age: 22,
sex: '男'
},
{
id: 5,
parentId: 3,
name: '测试5',
age: 25,
sex: '男'
},
{
id: 6,
parentId: 3,
name: '测试6',
age: 26,
sex: '女',
children: [
{
id: 7,
parentId: 6,
name: '测试7',
age: 27,
sex: '男'
}
]
}
]
},
{
id: 18,
parentId: 0,
name: '测试8',
age: 18,
sex: '男'
}
],

一句话,完美!
三哥的微信公众号,打开你的微信,扫描它,然后带走我!嘻嘻!
三哥QQ交流群
来源:CSDN
作者:三哥玩前端
链接:https://blog.csdn.net/zhaoxiang66/article/details/90072004