详解MBR分区结构以及GPT分区结构

人走茶凉 提交于 2019-11-27 22:03:52

一、MBR分区结构

MBR磁盘分区是一种使用最为广泛的分区结构,它也被称为DOS分区结构,但它并不仅仅应用于Windows系统平台,也应用于Linux,基于X86的UNIX等系统平台。它位于磁盘的0号扇区(一扇区等于512字节),是一个重要的扇区(简称MBR扇区)。

 

MBR扇区由以下四部分组成:

引导代码:引导代码占MBR分区的前440字节,负责整个系统启动。如果引导代码被破坏,系统将无法启动。

Windows磁盘签名:占引导代码后面的4字节,是Windows初始化磁盘写入的磁盘标签,如果此标签被破坏,则系统会提示“初始化磁盘”。

MBR分区表:占Windows磁盘标签后面的64个字节,是整个硬盘的分区表。

MBR结束标志:占MBR扇区最后2个字节,一直为“55 AA”。

640?wx_fmt=jpeg

注意:分析磁盘使用的工具是Winhex,如果读者需要请自行下载。

 

下面详细分析分区表结构

磁盘在使用前都要进行分区,也就是将硬盘划分为一个个逻辑的区域。每一个分区都有一个确定的起始结束位置。MBR磁盘的分区形式一般有3种,既主分区,扩展分区和非DOS分区。主分区既主DOS分区,扩展分区既扩展的DOS分区(扩展分区可以分逻辑分区),非DOS分区对于主分区的操作系统来说是一块被划分出去的区域,只能非DOS分区中操作系统可以管理。

 

如下:是MBR分区表

640?wx_fmt=jpeg

MBR一共占用64个字节,其中每16个字节为一个分区表项。也就是在MBR扇区中只能记录4个分区信息,可以是4个主分区,或者是3个主分区1个扩展分区。

每个分区项中对应的字节解释如下表:

640?wx_fmt=jpeg

640?wx_fmt=jpeg

640?wx_fmt=jpeg

640?wx_fmt=jpeg

扩展分区的结构分析

由于MBR仅仅为分区表保留了64字节的存储空间,而每个分区则占用16字节的空间,也就是只能分4个分区,而4个分区在实际情况下往往是不够用的。因此就有了扩展分区,扩展分区中的每个逻辑分区的分区信息都存在一个类似MBR的扩展引导记录(简称EBR)中,扩展引导记录包括分区表和结束标志“55 AA”,没有引导代码部分。

640?wx_fmt=jpeg

如上图:EBR中分区表的第一项描述第一个逻辑分区,第二项指向下一个逻辑分区的EBR。如果下一个逻辑分区不存在,第二项就不需要了。

 

MBR分区的结构大致就介绍到这了。如果硬盘的MBR被破坏,可以复制其他硬盘的MBR到故障盘,然后修复分区表,也可以初始化故障盘然后修复分区表。

 

二、GPT分区结构

GPT磁盘分区的基本特点

GPT磁盘分区结构解决了MBR只能分4个主分区的的缺点,理论上说,GPT磁盘分区结构对分区的数量好像是没有限制的。但某些操作系统可能会对此有限制。

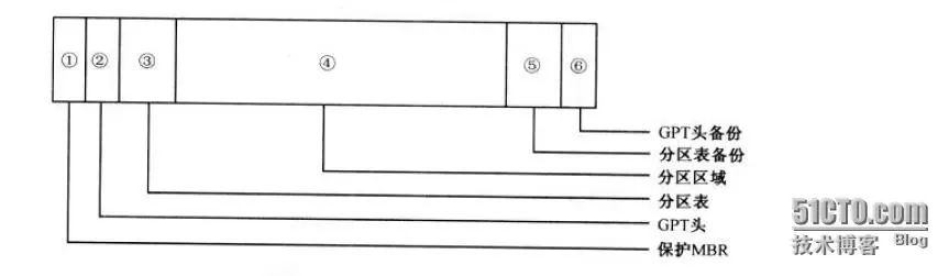
GPT磁盘分区结构由6部分组成,如下图:

640?wx_fmt=jpeg

1、保护MBR

保护MBR位于GPT磁盘的第一扇区,也就是0号扇区,有磁盘签名,MBR磁盘分区表和结束标志组成,没有引导代码。而且分区表内只有一个分区表项,这个表项GPT根本不用,只是为了让系统认为这个磁盘是合法的。

640?wx_fmt=jpeg

2、GPT头

   GPT头位于GPT磁盘的第二个磁盘,也就是1号扇区,该扇区是在创建GPT磁盘时生成,GPT头会定义分区表的起始位置,分区表的结束位置、每个分区表项的大小、分区表项的个数及分区表的校验和等信息。

640?wx_fmt=jpeg

GPT头中参数的含义解释如下表:

640?wx_fmt=jpeg

3、分区表

分区表位于GPT磁盘的2-33号磁盘,一共占用32个扇区,能够容纳128个分区表项。每个分区表项大小为128字节。因为每个分区表项管理一共分区,所以Windows系统允许GPT磁盘创建128个分区。

每个分区表项中记录着分区的起始,结束地址,分区类型的GUID,分区的名字,分区属性和分区GUID。

640?wx_fmt=jpeg

分区表项中各参数的含义解释如下表:

640?wx_fmt=jpeg

4、分区区域

GPT分区区域就是用户使用的分区,也是用户进行数据存储的区域。分区区域的起始地址和结束地址由GPT头定义。

5、GPT头备份

GPT头有一个备份,放在GPT磁盘的最后一个扇区,但这个GPT头备份并非完全GPT头备份,某些参数有些不一样。复制的时候根据实际情况更改一下即可。

6.分区表备份

   分区区域结束后就是分区表备份,其地址在GPT头备份扇区中有描述。分区表备份是对分区表32个扇区的完整备份。如果分区表被破坏,系统会自动读取分区表备份,也能够保证正常识别分区。

 

GPT的分区结构相对于MBR要简单许多,并且分区表以及GPT头都有备份。

转自:https://blog.csdn.net/T146lLa128XX0x/article/details/81199488

易学教程内所有资源均来自网络或用户发布的内容,如有违反法律规定的内容欢迎反馈
该文章没有解决你所遇到的问题?点击提问,说说你的问题,让更多的人一起探讨吧!