面试题1.
说一下的 dubbo 的工作原理?注册中心挂了可以继续通信吗?说说一次 rpc 请求的流程?
面试官心理分析
MQ、ES、Redis、Dubbo,上来先问你一些思考性的问题、原理,比如 kafka 高可用架构原理、es 分布式架构原理、redis 线程模型原理、Dubbo 工作原理;之后就是生产环境里可能会碰到的一些问题,因为每种技术引入之后生产环境都可能会碰到一些问题;再来点综合的,就是系统设计,比如让你设计一个 MQ、设计一个搜索引擎、设计一个缓存、设计一个 rpc 框架等等。
那既然开始聊分布式系统了,自然重点先聊聊 dubbo 了,毕竟 dubbo 是目前事实上大部分公司的分布式系统的 rpc 框架标准,基于 dubbo 也可以构建一整套的微服务架构。但是需要自己大量开发。
当然去年开始 spring cloud 非常火,现在大量的公司开始转向 spring cloud 了,spring cloud 人家毕竟是微服务架构的全家桶式的这么一个东西。但是因为很多公司还在用 dubbo,所以 dubbo 肯定会是目前面试的重点,何况人家 dubbo 现在重启开源社区维护了,捐献给了 apache,未来应该也还是有一定市场和地位的。
既然聊 dubbo,那肯定是先从 dubbo 原理开始聊了,你先说说 dubbo 支撑 rpc 分布式调用的架构啥的,然后说说一次 rpc 请求 dubbo 是怎么给你完成的,对吧。
面试题剖析
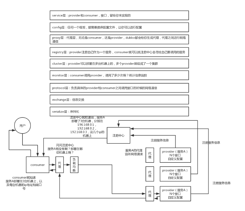
dubbo 工作原理
- 第一层:service 层,接口层,给服务提供者和消费者来实现的
- 第二层:config 层,配置层,主要是对 dubbo 进行各种配置的
- 第三层:proxy 层,服务代理层,无论是 consumer 还是 provider,dubbo 都会给你生成代理,代理之间进行网络通信
- 第四层:registry 层,服务注册层,负责服务的注册与发现
- 第五层:cluster 层,集群层,封装多个服务提供者的路由以及负载均衡,将多个实例组合成一个服务
- 第六层:monitor 层,监控层,对 rpc 接口的调用次数和调用时间进行监控
- 第七层:protocal 层,远程调用层,封装 rpc 调用
- 第八层:exchange 层,信息交换层,封装请求响应模式,同步转异步
- 第九层:transport 层,网络传输层,抽象 mina 和 netty 为统一接口
- 第十层:serialize 层,数据序列化层
工作流程
- 第一步:provider 向注册中心去注册
- 第二步:consumer 从注册中心订阅服务,注册中心会通知 consumer 注册好的服务
- 第三步:consumer 调用 provider

- 第四步:consumer 和 provider 都异步通知监控中心
注册中心挂了可以继续通信吗?
可以,因为刚开始初始化的时候,消费者会将提供者的地址等信息拉取到本地缓存,所以注册中心挂了可以继续通信。
面试题2
dubbo 支持哪些通信协议?支持哪些序列化协议?说一下 Hessian 的数据结构?PB 知道吗?为什么 PB 的效率是最高的?
面试官心理分析
上一个问题,说说 dubbo 的基本工作原理,那是必须掌握的,至少要知道 dubbo 分成哪些层,然后平时怎么发起 rpc 请求的,注册、发现、调用,这些是基本的。
接着就可以针对底层进行深入的问问了,比如第一步就可以先问问序列化协议这块,就是平时 RPC 的时候怎么走的?
面试题剖析
序列化,就是把数据结构或者是一些对象,转换为二进制串的过程,而反序列化是将在序列化过程中所生成的二进制串转换成数据结构或者对象的过程。

dubbo 支持不同的通信协议
- dubbo 协议
默认就是走 dubbo 协议,单一长连接,进行的是 NIO 异步通信,基于 hessian 作为序列化协议。使用的场景是:传输数据量小(每次请求在 100kb 以内),但是并发量很高。
为了要支持高并发场景,一般是服务提供者就几台机器,但是服务消费者有上百台,可能每天调用量达到上亿次!此时用长连接是最合适的,就是跟每个服务消费者维持一个长连接就可以,可能总共就 100 个连接。然后后面直接基于长连接 NIO 异步通信,可以支撑高并发请求。
长连接,通俗点说,就是建立连接过后可以持续发送请求,无须再建立连接。

而短连接,每次要发送请求之前,需要先重新建立一次连接。

- rmi 协议
走 Java 二进制序列化,多个短连接,适合消费者和提供者数量差不多的情况,适用于文件的传输,一般较少用。
- hessian 协议
走 hessian 序列化协议,多个短连接,适用于提供者数量比消费者数量还多的情况,适用于文件的传输,一般较少用。
- http 协议
走 json 序列化。
- webservice
走 SOAP 文本序列化。
dubbo 支持的序列化协议
dubbo 支持 hession、Java 二进制序列化、json、SOAP 文本序列化多种序列化协议。但是 hessian 是其默认的序列化协议。
说一下 Hessian 的数据结构
Hessian 的对象序列化机制有 8 种原始类型:
- 原始二进制数据
- boolean
- 64-bit date(64 位毫秒值的日期)
- 64-bit double
- 32-bit int
- 64-bit long
- null
- UTF-8 编码的 string
另外还包括 3 种递归类型:
- list for lists and arrays
- map for maps and dictionaries
- object for objects
还有一种特殊的类型:
- ref:用来表示对共享对象的引用。
为什么 PB 的效率是最高的?
可能有一些朋友比较习惯于 JSON or XML 数据存储格式,对于 Protocol Buffer 还比较陌生。Protocol Buffer 其实是 Google 出品的一种轻量并且高效的结构化数据存储格式,性能比 JSON、XML 要高很多。
其实 PB 之所以性能如此好,主要得益于两个:第一,它使用 proto 编译器,自动进行序列化和反序列化,速度非常快,应该比 XML 和 JSON 快上了 20~100 倍;第二,它的数据压缩效果好,就是说它序列化后的数据量体积小。因为体积小,传输起来带宽和速度上会有优化。
后期还会更新更多面试问题
想获取更多知识和学习资料可以扫描下方二维码

