
微服务的概念最早在 2012 年提出,在 Martin Fowler 的大力推广下,微服务在 2014 年后得到了大力发展。今天我们通过一组手绘图来梳理下微服务的核心架构。
什么是微服务?
就目前而言,对于微服务业界并没有一个统一的、标准的定义(While there is no precise definition of this architectural style ) 。
但通常在其而言,微服务架构是一种架构模式或者说是一种架构风格,它提倡将单一应用程序划分成一组小的服务,每个服务运行独立的自己的进程中,服务之间互相协调、互相配合,为用户提供最终价值。
服务之间采用轻量级的通信机制互相沟通(通常是基于 HTTP 的 RESTful API ) 。每个服务都围绕着具体业务进行构建,并且能够被独立地部署到生产环境、类生产环境等。
另外,应尽量避免统一的、集中式的服务管理机制,对具体的一个服务而言,应根据业务上下文,选择合适的语言、工具对其进行构建,可以有一个非常轻量级的集中式管理来协调这些服务。可以使用不同的语言来编写服务,也可以使用不同的数据存储。
根据马丁.福勒的描述,我总结了以下几点:

①小服务
小服务,没有特定的标准或者规范,但他在总体规范上一定是小的。
②进程独立
每一组服务都是独立运行的,可能我这个服务运行在 Tomcat 容器,而另一个服务运行在 Jetty 上。可以通过进程方式,不断的横向扩展整个服务。
③通信
过去的协议都是很重的,就像 ESB,就像 SOAP,轻通信,这意味着相比过去更智能更轻量的服务相互调用,就所谓 smart endpoints and dumb pipes。
这些 Endpoint 都是解耦的,完成一个业务通信调用串起这些 Micro Service 就像是 Linux 系统中通过管道串起一系列命令业务。
过去的业务,我们通常会考虑各种各样的依赖关系,考虑系统耦合带来的问题。微服务,可以让开发者更专注于业务的逻辑开发。
④部署
不止业务要独立,部署也要独立。不过这也意味着,传统的开发流程会出现一定程度的改变,开发的适合也要有一定的运维职责。
⑤管理
传统的企业级 SOA 服务往往很大,不易于管理,耦合性高,团队开发成本比较大。
微服务,可以让团队各思其政的选择技术实现,不同的 Service 可以根据各自的需要选择不同的技术栈来实现其业务逻辑。
微服务的利与弊
为什么用微服务呢?因为好玩?不是的。下面是我从网络上找到说的比较全的优点:
优点是每个服务足够内聚,足够小,代码容易理解这样能聚焦一个指定的业务功能或业务需求。
开发简单、开发效率提高,一个服务可能就是专一的只干一件事。
微服务能够被小团队单独开发,这个小团队是 2 到 5 人的开发人员组成。
微服务是松耦合的,是有功能意义的服务,无论是在开发阶段或部署阶段都是独立的。
微服务能使用不同的语言开发。
易于和第三方集成,微服务允许容易且灵活的方式集成自动部署,通过持续集成工具,如 Jenkins,Hudson,bamboo。
微服务易于被一个开发人员理解,修改和维护,这样小团队能够更关注自己的工作成果。无需通过合作才能体现价值。微服务允许你利用融合最新技术。
微服务只是业务逻辑的代码,不会和 HTML,CSS 或其他界面组件混合。
每个微服务都有自己的存储能力,可以有自己的数据库,也可以有统一数据库。
什么组织适合使用微服务?
微服务带了种种优点,种种弊端,那么什么组织适合使用微服务?
①墨菲定律(设计系统)和康威定律(系统划分)
康威定律,是一个五十多年前就被提出来的微服务概念。在康威的这篇文章中,最有名的一句话就是:
Organizations which design systems are constrained to produce designs which are copies of the communication structures of these organizations.
-Melvin Conway(1967)
看看下面的图片,再想想 Apple 的产品、微软的产品设计,就能形象生动的理解这句话。

架构是不断演化出来的,微服务也是这样,当从各大科技公司,规模大到一定程度,完全需要演化成更进一步管理的技术架构体系。

我们做技术都是为了产品的,一旦过程出来了什么问题,回溯寻找问题会非常耗时。

使用了微服务架构体系,团队组织方式需要转变成跨职能团队,即每个团队都有产品专家,策划专家,开发专家,运维专家,他们使用 API 方式发布他们的功能,而平台使用他们的功能发布产品。


微服务技术架构体系
下面我分享一下大部分公司都使用的微服务技术架构体系:

服务发现
主流的服务发现,分为三种:

缺点是,由于服务没有负载均衡功能,对负载均衡服务,可能会有相当大的性能问题。

缺点是,对多语言环境不是很好,你需要单独给消费者的客户端开发服务发现和负载均衡功能。当然了,这个方法通常都是用在 Spring Cloud 上的。

网关
将生活实际联系到微服务上,就不难理解网关的意思了:

反向路由:很多时候,公司不想让外部人员看到我们公司的内部,就需要网关来进行反向路由。即将外部请求转换成内部具体服务调用。
安全认证:网络中会有很多恶意访问,譬如爬虫,譬如黑客攻击,网关维护安全功能。
限流熔断:当请求很多服务不堪重负,会让我们的服务自动关闭,导致不能用服务。限流熔断可以有效的避免这类问题。
日志监控:所有的外面的请求都会经过网关,这样我们就可以使用网关来记录日志信息。
灰度发布,蓝绿部署。是指能够平滑过渡的一种发布方式。在其上可以进行 A/B testing。
即让一部分用户继续用产品特性 A,一部分用户开始用产品特性 B,如果用户对 B 没有什么反对意见,那么逐步扩大范围,把所有用户都迁移到 B 上面来。
开源网关 Zuul 架构:

配置中心
今天重点说说现在应用质量不错的配置中心,携程开源的阿波罗(Apollo):

通讯方式
关于通讯方式,一般市面也就是两种远程调用方式,我整理了一个表格:

监控预警
一般监控分为如下层次:

日志监控
Metrics 监控
健康检查
调用链检查
告警系统
同时将日志传入 ELK,将 Metrics 传入 InfluxDB 时间序列库。而像 Nagios,可以定期向 Agent 发起信息检查微服务。

很多公司都有调用链监控,就譬如阿里有鹰眼监控,点评的 Cat,大部分调用链监控(没错,我指的 Zipkin)架构是这样的:


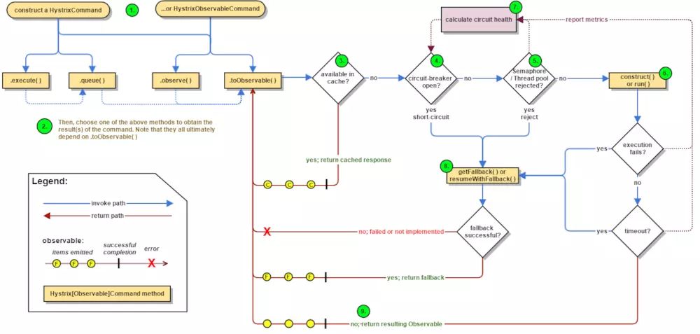
熔断、隔离、限流、降级
下面介绍一下 Hystrix 的运行流程:

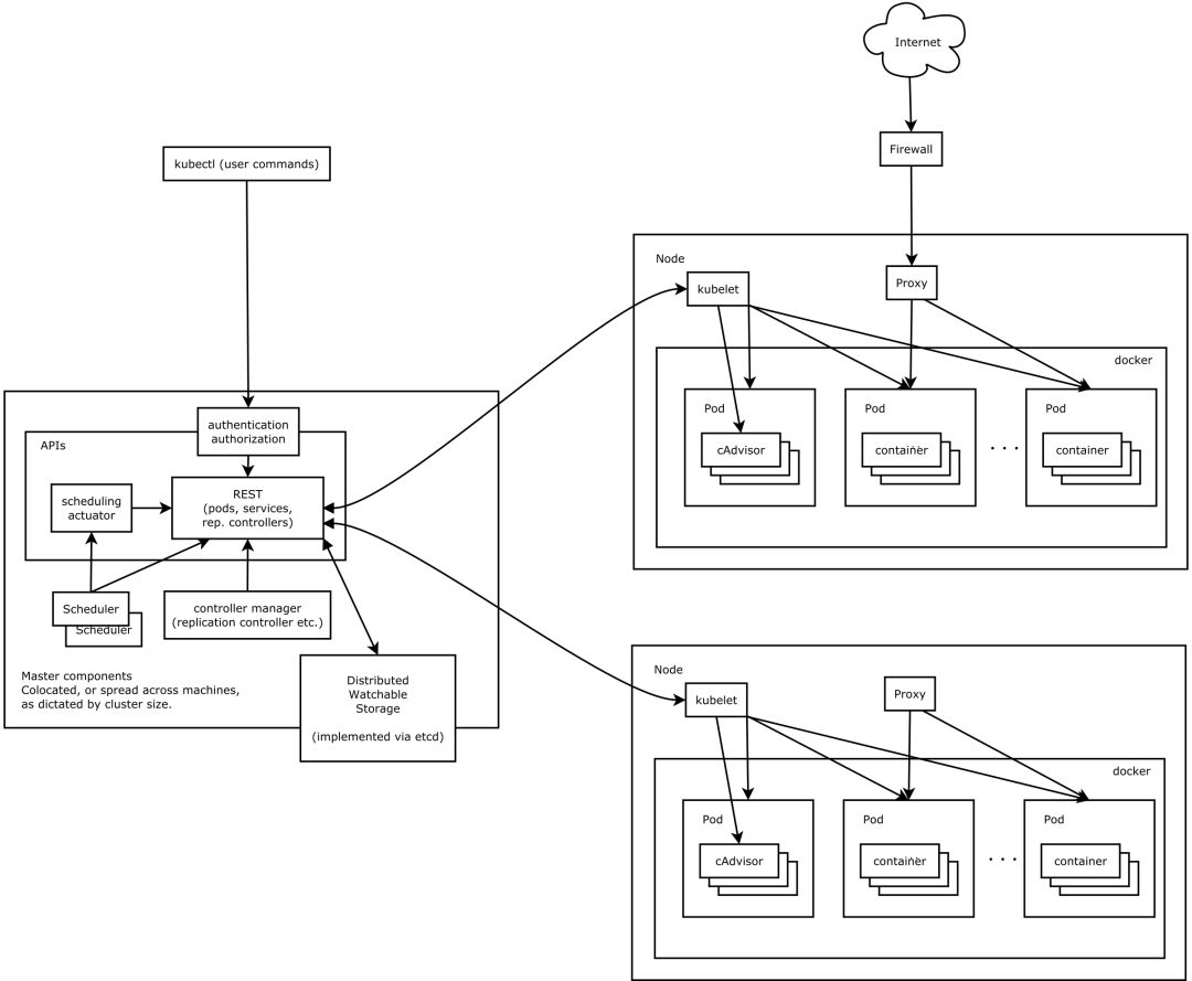
容器与服务编排引擎
下面是架构图:


资料与文献:
马丁.福勒对微服务的描述
微服务架构的理论基础 - 康威定律
调用链选型之Zipkin,Pinpoint,SkyWalking,CAT
扫码关注,不错过任何一个干货

-- 前端技术江湖 --
点赞是最大的支持 
本文分享自微信公众号 - 前端技术江湖(bigerfe)。
如有侵权,请联系 support@oschina.cn 删除。
本文参与“OSC源创计划”,欢迎正在阅读的你也加入,一起分享。
来源:oschina
链接:https://my.oschina.net/u/4676704/blog/4813479