😀
| 这个作业属于那个课程 | C语言程序设计ll |
| 这个作业要求在哪里 | https://edu.cnblogs.com/campus/zswxy/software-engineering-class2-2018/homework/2888 |
| 我在这个课程的目标是 | 会简单使用指针 |
| 这个作业在那个具体方面帮助我实现目标 | 回顾了上个学期学的函数 |
| 参考文献 | https://www.bilibili.com/video/av8302677/?p=21 |
##6-1 求两数平方根之和 (10 分) 函数fun的功能是:求两数平方根之和,作为函数值返回。例如:输入12和20,输出结果是:y = 7.936238。
函数接口定义:
double fun (double *a, double *b);
其中 a和 b是用户传入的参数。函数求 a指针和b 指针所指的两个数的平方根之和,并返回和。
##裁判测试程序样例:
#include<stdio.h>
#include <math.h>
double fun (double *a, double *b);
int main ( )
{ double a, b, y;
scanf ("%lf%lf", &a, &b );
y=fun(&a, &b); printf ("y=%.2f\n", y );
return 0;
}
/* 请在这里填写答案 */
输入样例:
12 20
输出样例:
y=7.94
##1.完整代码:
#include<stdio.h>
#include <math.h>
double fun (double *a, double *b);
int main ( )
{ double a, b, y;
scanf ("%lf%lf", &a, &b );
y=fun(&a, &b); printf ("y=%.2f\n", y );
return 0;
}
double fun (double *a, double *b)
{
double y;
y = sqrt(*a)+sqrt(*b);
return y;
}
##2.设计思路: 
##3.本题调试中遇到的问题及解决办法 本题没什么问题,理解指针就好
##4.运行截图 正确截图: 
##2. 7-1 利用指针返回多个函数值 (30 分) 读入n个整数,调用max_min()函数求这n个数中的最大值和最小值。
输入格式:
输入有两行: 第一行是n值; 第二行是n个数。
输出格式:
输出最大值和最小值。
输入样例: 在这里给出一组输入。例如:
5
8 9 12 0 3
输出样例:
在这里给出相应的输出。例如:
max = 12
min = 0
##1.代码
#include<stdio.h>
void max_min(int n, int *a);
int main()
{
int i, n;
scanf("%d", &n);
int a[n];
for(i = 0; i < n; i++)
scanf("%d", (a + i));
max_min(n, a);
printf("max = %d\n", *(a));
printf("min = %d", *(a + n - 1));
// 注意min为数组最后一个值如何表达
return 0;
}
void max_min(int n, int *a)
{
int i, j, t;
for(i = 0; i < n; i++)
{
for(j = 0; j < n - i - 1; j++)
{
if(*(a + j) < *(a + j + 1))
{
t = *(a + j + 1);
*(a + j + 1) = *(a + j);
*(a + j)= t;
}
}
}
}
//数组名为数组首地址
##2.设计思路: 
##3.本题调试中遇到的问题及解决办法 问题1:真心不懂数组,反复看视频依旧觉得有点懵 问题2:下图中for循环嵌套中 j<n-i 错误; 改为 j<n-i-1 问题解决。
for(i = 0; i < n; i++)
{
for(j = 0; j < n - i; j++)
{
if(*(a + j) < *(a + j + 1))
{
t = *(a + j + 1);
*(a + j + 1) = *(a + j);
*(a + j)= t;
}
}
}
问题3:刚学指针不会用,是参考了其他博主的代码,我看了三种写法都去尝试了编写,存在的问题其实很多 这一种是相较而言我比较理解的,数组名即使数组的首地址,可直接使用。
##4.运行截图 正确截图: 
错误截图: 
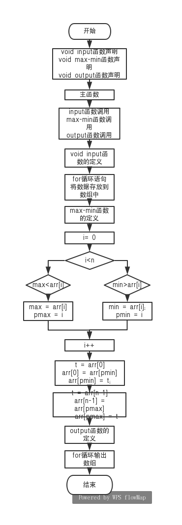
##3.6-3 最小数放前最大数放后 (10 分) 为一维数组输入10个整数;将其中最小的数与第一个数对换,将最大的数与最后一个数对换;输出数组元素。
函数接口定义:
void input(int *arr,int n);
void max_min(int *arr,int n);
void output(int *arr,int n);
三个函数中的 arr和n 都是用户传入的参数。n 是元素个数。
input函数的功能是输入 n个元素存到指针arr所指向的一维数组中。
max_min函数的功能是求指针arr所指向的一维数组中的最大值和最小值,其中最小的数与第一个数对换,将最大的数与最后一个数对换。
output函数的功能是在一行中输出数组元素,每个元素输出占3列。
##裁判测试程序样例:
#include<stdio.h>
void input(int *arr,int n);
void max_min(int *arr,int n);
void output(int *arr,int n);
int main()
{ int a[10];
input(a,10);
max_min(a,10);
output(a,10);
return 0;
}
/* 请在这里填写答案 */
输入样例:
5 1 4 8 2 3 9 5 12 7
输出样例:
1 5 4 8 2 3 9 5 7 12
##1.完整代码
#include<stdio.h>
void input(int *arr,int n);
void max_min(int *arr,int n);
void output(int *arr,int n);
int main()
{ int a[10];
input(a,10);
max_min(a,10);
output(a,10);
return 0;
}
/*以下为答案*/
void input(int *arr, int n)
{
int i;
for(i = 0;i<n; i++)
{
scanf("%d", &arr[i]);
}
}
void max_min(int *arr,int n)
{
int i, max, min;
int t, pmax, pmin;
max = min = arr[0];
for(i = 1; i<n; i++)
{ //找出max,min
if(max<arr[i])
{
max = arr[i];
pmax = i;
}
if(min>arr[i])
{
min = arr[i];
pmin = i;
}
}
//按要求交换max,min位置,其他不变
t = arr[0];
arr[0] = arr[pmin];
arr[pmin] = t;
t = arr[n-1];
arr[n-1] = arr[pmax];
arr[pmax] = t;
}
void output(int *arr, int n)
{
int i;
for(i = 0; i<n; i++)
printf("%3d", arr[i]);
} //%3d 注意题目要求
##2.设计思路: 
##3.本题调试中遇到的问题及解决办法 问题1:漏掉了scanf语句中的取值符号& 问题2:将for循环嵌套范围弄错了 问题3:最大值最小放入数组的顺序错了
这些问题都属于粗心大意造成的,自我检讨写作业的时候,比较粗心
##4.运行截图 正确截图: 
错误截图: 
##二,学习进度条
| 周/日期 | 这周所花时间 | 代码行数 | 学到的知识点 | 目前比较迷惑的问题 | |
|---|---|---|---|---|---|
| 第一题 | 4/1-4/1 | 0.5h | 15行 | 简单的指针运用 | 为什么要绕个弯用指针 |
| 第二题 | 4/1-4/3 | 两天 | 37行 | 指针与数组 | 分不清*与&的意义 |
| 第三题 | 4/2-4/4 | 两天 | 57行 | 指针与数组 | 不会用指针 |
##折线图: 
| 时间 | 累计代码行数 | 累计博客字数’ |
|---|---|---|
| 第一周 | 51 | 1144 |
| 第二周 | 43 | 2009 |
| 第三周 | 92 | 2968 |
| 第四周 | 119 | 4566 |
| 第五周 | 63 | 5976 |
| 第六周 | 109 | 8545 |
##三,学习感悟 这个星期主要学习了指针,讲真的有点懵,emnn,我看了几遍教学视频,也自己上网搜了其他关于指针的知识;虽然知道有些东西急不来,现在不懂就慢慢看,耐心去学。但是还是有点小焦急滴。 这个星期放清明假,也没有去预习新的知识而是继续坚持去学习指针。
##四,结对编程感悟: 这周重新调整了结对编程的小伙伴,由于我们就是室友,所以有很多东西都很方便讨论,我们属于是那种互帮互助的,因为两个人差不多水平,不过都会有些粗心大意或者偶尔脑回路没反应过来,两个人讨论的时候就会突然觉得,某个人说的好像有道理,然后在我们开始有思路之后就会两个人各编各的代码,当发现问题才会再次进行讨论,提出疑惑。
##思考题: 1.为什么要使用指针?它有什么用? 1、指针有利于大块数据的管理,特别是已经存在于内存中的数据,通过指针访问更方便, 在一些情况下指针和数组的效果差不多。 2、用指针在函数间传递数据效率高,尤其是当数据量大的时侯。 3、用指针的话,对内存的占用会比较小,而直接用中间变量会复制出副本,占用双重内存,即便在函数调用后变量副本会被撤销 4、指针的功能强大,它可以指向数据存放的地址,指针既可以指向变量地址,也可以指向函数。 因此,无论是调用数据,还是调用函数,都可已使用指针。指针实现间接访问,可以保证原数据不会丢失
指针的作用: 1、指针就是指向一个特定内存地址的一个变量。C语言指针可以有效地表示复杂的数据结构、动态分配内存、高效地使用数组和字符串、使得调用函数时得到多个返回值等。 指针的应用往往与数组联系在一起,是最频繁的,也是最基础的。在定义数组和函数时,系统都会为其自动分配一个指向其首地址的指针。对于一个数组,其名称就是一个指针变量。 2、指针只是一个变量,它存储一个内存地址。如果传入一个地址,比传入一个struct效率要高,因为少了一个拷贝过程。 3、指针能够有效的表示数据结构,能动态分配内存,能较方便的使用字符串,有效的使用数组。 4、指针直接与数据等的储存地址有关,是比较重要的。比如,值传递不如地址传递高效,因为值传递先从实参的地址中提出值,再赋值给形参带入函数计算;而指针则把形参的地址直接指向实参地址,使用时直接提出数据,使效率提高,特别在频繁赋值等情况下
可参考博客(https://www.jianshu.com/p/9a2eb076d0d2) 2.指针变量在内存中暂用多大的空间?它的大小由什么决定? 一般是四字节,指针大小是由当前CPU运行模式的寻址位数决定 可参考(https://blog.csdn.net/lhj_168/article/details/80308041)
来源:oschina
链接:https://my.oschina.net/u/4404979/blog/3586487