树莓派将DHT11温度湿度上传到阿里云物联网平台
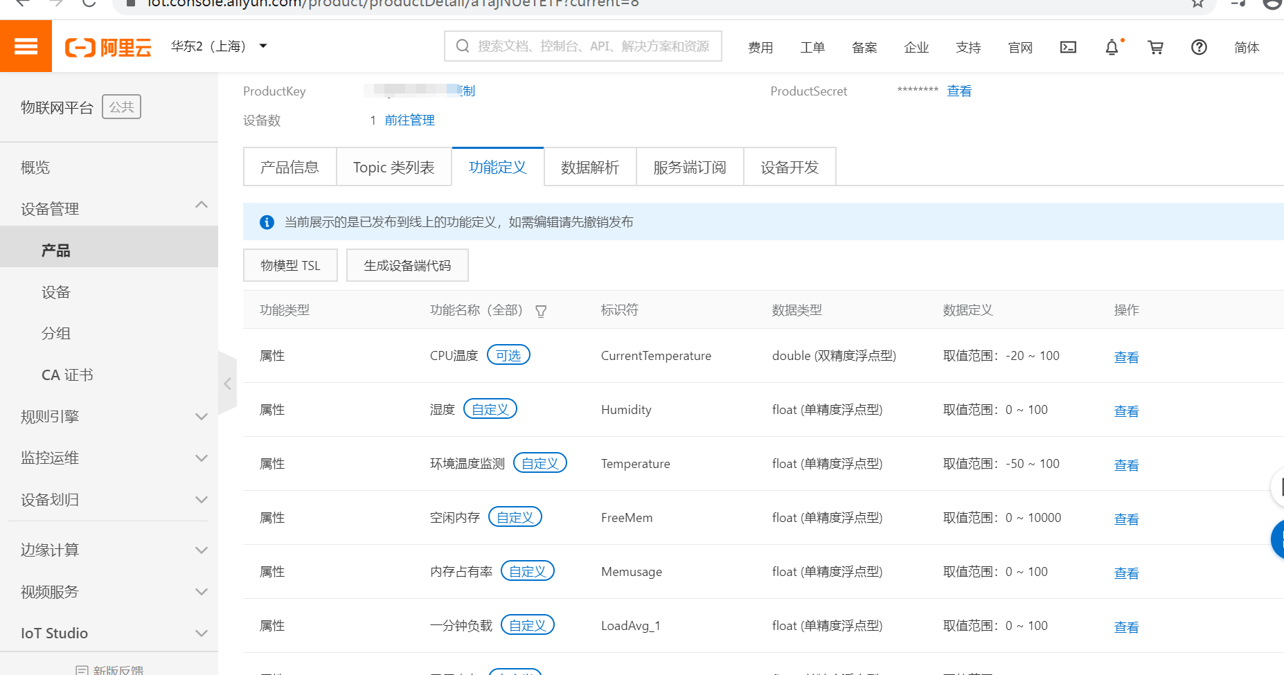
1、自定义功能


添加的过程就是如此,因为温度是有小数点的,所以用float比较好,其他的比如时间等等也可以使用text类型,视情况而定。
定义好之后就可以发布了,当前只有一个温度,还需要添加是湿度。
2、环境准备
- 下载Node.js
- 安装mtqq库
npm install aliyun-iot-mqtt -S
- 安装阿里云SDK
sudo pip install aliyun-python-sdk-core
sudo pip install aliyun-python-sdk-iot
3、代码
#-*- coding: utf-8 -*-
import aliyunsdkiotclient.AliyunIotMqttClient as iot
import json
import multiprocessing
import time
import random
import RPi.GPIO as gpio
import sys
import os
options = {
'productKey': '你的产品号',
'deviceName': '你的产品名称',
'deviceSecret': '密码',
'port': 1883,
'host': 'iot-as-mqtt.cn-shanghai.aliyuncs.com'
}
def GetDTH():
gpio.setwarnings(False)
gpio.setmode(gpio.BCM)
time.sleep(1)
data = []
def delay(i): # 20*i usdelay
a = 0
for j in range(i):
a + 1
j = 0
# start work
gpio.setup(21, gpio.OUT)
# gpio.output(12,gpio.HIGH)
# delay(10)
gpio.output(21, gpio.LOW)
time.sleep(0.02)
gpio.output(21, gpio.HIGH)
i = 1
i = 1
# wait to response
gpio.setup(21, gpio.IN)
while gpio.input(21) == 1:
continue
while gpio.input(21) == 0:
continue
while gpio.input(21) == 1:
continue
# get data
while j < 40:
k = 0
while gpio.input(21) == 0:
continue
while gpio.input(21) == 1:
k += 1
if k > 100: break
if k < 20:
data.append(0)
else:
data.append(1)
j += 1
print("Sensor is working")
# get temperature
humidity_bit = data[0:8]
humidity_point_bit = data[8:16]
temperature_bit = data[16:24]
temperature_point_bit = data[24:32]
check_bit = data[32:40]
humidity = 0
humidity_point = 0
temperature = 0
temperature_point = 0
check = 0
for i in range(8):
humidity += humidity_bit[i] * 2 ** (7 - i)
humidity_point += humidity_point_bit[i] * 2 ** (7 - i)
temperature += temperature_bit[i] * 2 ** (7 - i)
temperature_point += temperature_point_bit[i] * 2 ** (7 - i)
check += check_bit[i] * 2 ** (7 - i)
tmp = humidity + humidity_point + temperature + temperature_point
if check == tmp:
print("temperature is ", temperature, ".", temperature_point, "*C", "wet is ", humidity, ".", humidity_point,
"%")
s=temperature+temperature_point*0.1
m=humidity+humidity_point*0.1
return s,m
else:
print("file")
return 0, 0
host = options['productKey'] + '.' + options['host']
def on_message(client, userdata, msg):
print(msg.payload)
setjson = json.loads(msg.payload)
def on_connect(client, userdata, flags_dict, rc):
print("Connected with result code " + str(rc))
def on_disconnect(client, userdata, flags_dict, rc):
print("Disconnected.")
def worker(client):
topic = '/sys/' + options['productKey'] + '/' + options['deviceName'] + '/thing/event/property/post'
while True:
file =open("/sys/class/thermal/thermal_zone0/temp",'r')
temp = float(file.read())/1000
file.close()
time.sleep(5)
T, H = GetDTH()
print('T=', T, 'H=', H)
if T != 0 or H != 0:
payload_json = {
'id': int(time.time()),
'params': {
'CurrentTemperature':temp,
'Temperature': T, # random.randint(20, 30),
'Humidity': H, # random.randint(40, 50)
},
'method': "thing.event.property.post"
}
print('send data to iot server: ' + str(payload_json))
client.publish(topic, payload=str(payload_json))
if __name__ == '__main__':
client = iot.getAliyunIotMqttClient(options['productKey'], options['deviceName'], options['deviceSecret'],
secure_mode=3)
client.on_connect = on_connect
client.on_disconnect = on_disconnect
client.on_message = on_message
client.connect(host=host, port=options['port'], keepalive=60)
p = multiprocessing.Process(target=worker, args=(client,))
p.start()
client.loop_forever()
里面的代码是可以直接可以使用的,修改好自己的产品信息,然后将DHT11中数据引脚修改一下就可以了。然后注意的是params中的key要与阿里云定义的标识符相同,运行之后才会传送到阿里云中去。
来源:oschina
链接:https://my.oschina.net/u/4418711/blog/4721059