这是why技术的第 57 篇原创文章
我是一个成都天府三街的程序猿,而蚂蚁金服在天府四街。
写这篇文章的时候我测试了一下,从我的工位出发,步行 6 分钟就可以走到蚂蚁金服的楼下,然后拍下这张照片:
途中会路过腾讯、字节跳动、万科、携程.......
所以,每天从天府三街地铁站下站的人特别多,这里面大概率聚集了天府软件园中最有钱的一批员工:
需要说明一下的是这篇文章不聊技术,这就是一整期的荒腔走板。文章里面我会提到成都蚂蚁金服,但是更多的,我想聊的是我眼中的成都,
和我所看见的天府软件园,蚂蚁金服只是恰好在天府软件园而已。
另外,需要严正声明的是,全文谨代表个人观点,观察角度有限。杠精勿扰。
我眼中的成都
我对成都最早的记忆应该得追溯到小学五年级的时候,也就是 2005 年,那时在学校订阅了少年先锋报,每周五的时候都会发一期新报纸给我们。
我就是在五年级的一个周五的最后一节课上领到了报纸,然后看到了报纸上的一个硕大的标题:《成都,一座来了就不想离开的城市》,然后翻页一看还有一个标题我记得特别清楚:《成都有条街,名字叫锦里》。
里面写的什么内容我全忘记了,但是看完之后,就是朦朦胧胧的向往这个地方。就类似于小时候的音乐课,学了“我爱北京天安门,天安门上太阳升”之后,对北京天安门的无限遐想一样。
但是天安门离小学五年级的我,还是太远了,成都还可以幻想一下。
也许,成都,就是
读书的时候课本里面,
总
是提到的
大城
市吧。
而我第一次来成都是 2010 年的劳动节,那时候的劳动节还是黄金周,放七天。
我记得那一年是我带着我堂妹去找我表姐,坐了整整 6 个小时的班车,才到成都。那时候表姐在成都读大学,她正在读大二。
姐姐第一站就带着我们去了摩肩擦踵的春熙路,那个时候还没有一只熊猫趴在那里,旁边也没有太古里,甚至地铁还得再等接近 2 年半的时间,才会出现一个叫做“春熙路站”的地铁站。
还看了一场电影,看的是
甄子
丹
主演的《叶问2》,因为那是我第一次在电影院的大银幕上看电影,看的非常的激动。以至于之后的每次看到叶问这个 IP 的时候,就会想起我第一次看电影的场景。
然后还去了一趟欢乐谷,我甚至到现在都记得,10 年前我排队玩的最后一个项目是大摆锤,
因为
住的地方距离
欢乐谷太远了,预计会错过末班车,所以我最终放弃排队。
那天晚上到家太晚了,我们就在附近的路边摊吃的晚饭,坐在临时撑起的小桌子上,吃的什么饭我忘了。但是,我记得姐姐怕我没吃饱,多给我点了一个肉夹馍,吃的时候我没拿稳,还掉了一坨肉出去。
但是这是我第一次触摸到成都的样子。和我从小长大所待的逼仄的小村庄、小县城比起来,她是光怪陆离的,光鲜亮丽太多太多了。
军训结束之后,我便骑车去了朋友家,然后和他一起去了锦里。
我在出发之前,我就知道锦里不是一个非常值得去的地方。但是,我执意要去只是因为这个地方对于小学五年级的我而已,意义非凡。
小学五年级的我在课外报纸上看到锦里时充满了憧憬,甚至我把那份报纸放在了床头柜里面,偶尔拿出来翻阅一下。而真正站在锦里的入口处的时候,已经过去整整 7 年的时间了。
当我站在入口处,拍下一张游客照的时候, 7 年前的报纸没了,床头柜没了,甚至床都没了,但是那份憧憬我还能回忆起来。
从报纸中的锦里,到现实中的锦里。从梦开始的地方结束一段梦,然后开启另外一段更加梦幻的旅程。
大学我在成都待了四年。用了整整四年的时间,试图去理解这座城市。
成都在天气极好的时候,是真的可以用肉眼看到雪山的。因为我在大学的宿舍里面就看到过好几次。
我觉得这是一件非常浪漫的事情。当然我不是指看雪山很浪漫。
我指的是在公元 764 年(
距今
1256 年),
一个诗人在杜甫草堂,一个初春的早上推开自己的窗户,听见了虫鸣鸟叫的声音,再看到天上飞着一排白鹭,随着白鹭飞行的路线往远处一看,发现有一座清晰可见的雪山,恰好,他又觉得自己看到的是西岭雪山。
其实据后来人考证杜甫看到的应该是蜀山之后四姑娘山的幺妹峰。
但是没关系,也许是西岭的名字和诗更搭一点,于是纸墨笔砚,一气呵成,写下一首千古《绝句》:
诗人没有想到的是,这一首《绝句》,竟然吟唱千年,写入了小学的课本之中。
千百年后的我们,早上起来,发现天气极好,于是爬上楼顶,没有听到虫鸣鸟叫,没有看到一行白鹭,但是
往远处一看,也发现了一座清晰可见的雪
山,于是拍下一张照片,再配上
千百年前就准备好的文案:窗含西岭千秋雪。
1256 年,白云苍狗,换了人间,雪山还在,诗歌还在。
前段时间,github 也把我们的代码埋到北极,冰封 1000 年,这两件事有异曲同工之妙。一个是成都的浪漫,一个是程序猿的浪漫。
再看现在,大多数人提到成都可能都会哼两句《成都》:
我第一次听到这首歌的时候在北京,雷子在《
我
是
歌手》的舞台上,让更多的人再次认识到神采奕奕的成都。
而大多数人都喜欢这首歌的“玉林路的尽头,小酒馆的门口”。
我不一样,我喜欢“阴雨的小城里”。因为太准确了,成都就是一座阴雨的城市,一座下夜雨的城市。
我一次听到这句歌词的时候我就想到了大学军训的时光。大学刚刚开学军训的时候,特别辛苦,晚上一听见下雨的声音就非常开心,因为第二天可以不用早起军训了。
但是第二天一早起来,地都快干了,让昨夜的幻想随着破灭。
所以成都是一座下夜雨的城市。
阴雨的小城,在杜甫的诗歌里面同样有体现,《春夜喜雨》:
所以其实成都还有一个别名,或者古时候的名称:
锦官城。
而且,话说回来,成都没有玉林路,只有玉林西路。玉林西路上有一个小酒馆,但是我建议你直接去九眼桥。
有的人说《成都》把里面的地点一换,就可以是其他的城市,这一点我是不同意的。
另外,和雷子的《成都》相比,我更喜欢张靓颖的《I Love This City》,这首歌是成都市形象主题曲,比《成都》更能代表成都。
2008 年地震后,在四川,在成都,在电视里,到处都在循环放这首歌。这首歌有一种治愈的力量,如果你也经历过汶川大地震,听这首歌的时候,你会真正的明白,什么叫做:
12 年前,成都还没有 IFS,没有太古里,南边还是一片菜地,没有天府新区的概念,更谈不上软件园的建设,地铁就只有一号线,最远也就到世纪城,距离现在的科学城还差着十万八千里,二环上的高架桥也还没有修好,也没有BRT,三环外感觉都是一个很远的地方,我现在所在的双流那更是乡下了。
人们出行大多依赖公交车,坐在摇摇晃晃的车厢里。我大二的时候才第一次做成都地铁,地铁的车厢偶尔也会摇晃一下。
从某种意义上来说《
I Love T
his City》这首歌真正的代表了成都人地震后的态度。
逝者已逝,生者坚强。这句话不是说说而已,对于一部分成都人来说,也融入到了骨子里。
我之前去映秀的时候,住宿的老板亲口对我说:
“已经经历过生死了
,现在活着的每一天,都是我赚的。当时不是说了吗,逝者已逝,生者要坚强。”
所以,从某种角度上来说, 2008 年的大地震,让原本就休闲的成都人,伤愈之后,又活出了一份洒脱的劲。
其实我还想再写写成都的休闲、成都的美食和有趣的成都话的,但是我发现怎么写都不对劲,算了吧。只说一句,然后放个朋友圈截图。
我的回答都是,来成都市里面可以玩的地方非常少,都是人文风景,如果要看自然风光,首推川西环线(可惜大多数人没有这么多时间),然后九寨沟什么的,总之成都好玩的地方在成都周边。
但是你要是来吃东西,就不一样了,在市里面你可以吃到非常非常多的好吃的:
火锅 串串 干锅 冒菜 抄手 米粉 豆花 锅盔 凉粉 凉糕 冰粉 三大炮 钵钵鸡 冷锅鱼 冷吃兔 肥肠粉 毛血旺 冷沾沾 担担面 口水鸡 韩包子 钟水饺 懒汤圆 叶儿粑 甜水面 奶汤面 龙抄手 炒龙虾 江油肥肠 牛肉焦饼 龙眼包子 夫妻肺片 珍珠丸子 水煮肉片 李庄白肉 灯影牛肉 泸州黄粑 鸡丝凉面 麻婆豆腐 跷脚牛肉 莲茸层层酥 酥盒回锅肉 红锅黄辣丁
之前星球研究所写了一篇专门报道成都的文章,我看到后发了一个朋友圈,不假思索的打了这么多字:
从上面的观点来看,从一个普通的学生的角度来看,成都真的是一个慢节奏的,适合休闲的城市。
现在,我已经脱离学生身份好几年了,看法发生了些许变化。
我眼中的成都软件园
不知道什么时候出现了一个“新一线城市
”的概念。但是从知道这个概念的时候,成都就一直名列前茅。现在更是稳居榜首。
从我个人有限的了解和观察而言,我觉得高新区、天府新区功不可没。而其中的成都软件园更是中流砥柱。
不夸张的说,单单看成都软件园,你来天府一到五街走一走,特别是看一下晚上无人机拍的夜景,这妥妥的一个国际化大都市。
我 2016 年年初的时候就在成都软件园的长虹科技大厦里面实习。也就是四年前。
那个时候我住在中和版块,一个叫做黄金时代的小区,开车不到五公里,但是不论你怎么开,都需要过桥。
过桥之前路很窄,单向双车道。过桥的时候非常堵,上了天府大道后更是堵的心慌。所以一般五公里的路程需要开车 40 多分钟的样子。
后来同事也不开车去公司了,我就和同事在小区门口坐一个三轮车,三轮车师傅就会走一些羊肠小道。半路上还会经过一个比较陡的斜坡,蹬三轮车的师傅就会给我们说:
“兄弟伙,下来一下呢,前面这个坡有点陡,我怕冲不上去。走两步嘛,坡坡上等你。
”
拥堵,是我对软件园的第一个映像。很多地方只是表面上看起来过得去。
但是需要说明一下的是,这是我 4 年前的感受,现在好多了,路修的比较宽了,除了下雨天,也不会那么堵了。
然后,实习的时候在长虹科技大厦的阳台上,可以看见腾讯大厦的一个角,那个时候怎么也不会想到,在那座大厦里面会产生一款风靡全国的游戏《王者荣耀》。
现在早上做地铁的时候偶尔还会遇见一个挂着王者荣耀工牌的小哥哥。我站在你他不远的地方,不经意间瞟一眼过去,感觉他的工牌在发光,他的整个人也在发光。也许这就是传说中的大厂光环吧。
而实习的时候,长虹的对面还在修一座写字楼,每天我都从这座写字楼的旁边走过,突然有一天,楼上挂了一个 logo,上面写的是:Alibaba Group。
同样,我怎么也想不到这栋楼还会挂一个蚂蚁金服的牌子,更想不到的是这栋楼蛰伏在这里,闷声不语,
短短
4 年后,然后突然有一天,这栋楼里面会发出财富自由的欢呼。
响彻在整个天府一街到五街,回荡在整个软件园的上空,成为程序员的茶余饭后的谈资。
大家讨论这件事的无外乎围绕着这几个词:程序员,阿里,级别,财富自由......
蚂蚁传出上市消息后的第二天,我去银泰城吃了一碗猪脚饭。一路上看见了很多挂着蚂蚁金服工牌的年轻人,他们三两成群的走在一起,谈笑风生,意气风发,不经意间流露出最近买房换车的打算。也是,这就是有钱人的生活,朴实无华,且枯燥。
而在蚂蚁传出上市消息后的第三天,仅仅一街之隔的软件园 C 区 7 栋,有一个程序员哥们,从 6 楼一跃而下,结束了自己短暂的一生。
大家讨论这件事的无外乎围绕着这几个词:程序员,年轻,外包,没钱......
当我看到这个消息的时候我先是一阵惋惜,而后想起了鲁迅先生的一句话:
蚂蚁上市的欢乐,我感受不到。一跃而下的悲伤,我也感受不到。
这两件事情之间毫无客观上的联系。但这都是发生在软件园的故事,这都是程序员的故事。
这事发生之后有人在某平台提问:如何看待成都程序员跳楼事件。成都不是以慢节奏和休闲著名吗?
我以我有限的视角和亲身的经历来试着回答一下这个问题。
首先,就像我前面一节说的,当我是一个在成都读大学的学生时,常常骑着自行车瞎逛,路过天府广场的时候一定会绕到春熙路上去,去感受一下人群,顺便欣赏美女。或者就在学校附近打几圈麻将,
晚上到饭点了,谁赢了就请大家在学校小吃街,吃着便宜且美味的晚饭,然后再约着三两好友围坐在操场上闲聊。
那个时候对美食不感兴趣,但是唯独追求险峻的美景,恰好又都大把大把的时间,于是走过了成都很多你叫的出或者叫不出名字的美景。
甚至在宿舍里面都要摆点茶具,沏几杯泡着碧潭飘雪的茶。喝的不是味道,是感觉,因为只有这样的感觉,才配得上成都这个地方。那确实是休闲,但是这种休闲是刻意出来的,或者说是装出来的。
那个时候,我觉得成都是一个非常适合生活的地方。很休闲,
当我毕业季,面临找工作,在知乎提出这个问题的时候:
当你在学校的时候,住宿费一学期也才 1200 元。
一个月 1500 元的生活费,由于食堂和美食街的存在,日子可以过的美滋滋的。
毕业之后就不一样了,要直面入不敷出的生活。所以于我而言,我可能是选择了另外一种逃避。
反正都要吃苦,那我为什么不选最难走的那条呢,于是我逃离了成都,去了北京。
现在我从北京也回来一年多的时间了,我发现我眼中的成都,并不休闲,或者准确的说成都的软件园并不休闲。
成都软件园,放在北京,这就是西二旗。你能说西二旗休闲吗?
每天早上,我从五根松坐五站地铁,到天府三街。由于最近的地摊文化,所以出了地铁口就可以解决每天的早饭问题,这些推着小推车的叔叔阿姨每天早上就在这里守候着我们:
我所在的公司的食堂是提供早餐的,但是我来了一年多,去食堂吃早饭的次数加起来不超过 10 次。
因为电梯太堵了。新希望 A/B/C 三座写字楼,你去打听打听,是多少高楼层上班族的噩梦。
每天早上排队等电梯的,有一种在欢乐谷等跳楼机的感觉,我所在的办公楼层低,爬楼梯就上去了,但是食堂是在顶楼啊,听同事说有一次等了差不多 20 分钟:
要是放在十年前,你对一个成都人说,早上上班光排队等电梯就得 20 分钟。
他大概率对你说:啥子?20 分钟?疯了迈
(吗)? 20 分钟都够老子搓几把麻将了。
现在应该不会了,他
大概率会说:哎呀,好正常嘛。我开车还不是经常随随便便堵个半小时,动都动不到,恼火的很。没得事,习惯就好了。
然后中午吃饭的时候大家也是四处觅食。我偶尔去银泰城吃。
银泰城里面的饭店特别多,你一天吃一家,一年都不带重样的。
我偶尔去这里吃的原因是有几个大学朋友也在软件园上班,偶尔叫在一起,中午吃个便饭,随便瞎聊几句。
在上面这张图片中,你其实是可以看到阿里和腾讯的写字楼的,同样也能看见很多住宅。
所以我们在一起经常讨论的一个话题就是:为什么没有在读大学的时候就在成都买房子?
有一次我就问一个成都的土著朋友:如果真的回到大学的时候,大一就叫你来软件园这边买房子,8000 一个平方,你来买不买?
他的回答是:疯了迈?过来种菜?我会觉得你脑壳被门夹了。
而现在,就这附近的房价,由于有银泰城和软件园加持,差一点就到均价 3w 吧。没有加持的地方,大概 2w 左右。
但是说实在的,这个价格和一线城市比起来,真的是低了很多很多了。每次我给北京的朋友说成都的房价的时候他们都表示震惊,太便宜了。
当然便宜了,你拿着一线城市的工作,来成都买房当然觉得压力不大。
但是实际情况呢?在软件园,有多少是外地来的蓉漂。你去问他们休闲吗。
哦,不。你去问他们:有买房资格了吗?落户落在哪个区的?摇了几次号了?摇中了吗?买房了吗?房子买在哪里的?
特别是刚刚从学校里面走出来的大学生和刚刚从培训班走出来的从业者。
在我的朋友圈里面有非常多的培训机构,他们的宣传语大多都非常的浮夸,我不说你也知道。
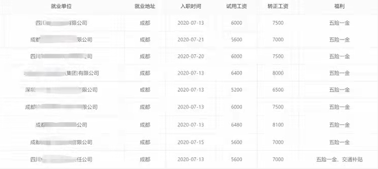
但是有一个成都本地的小的线下培训机构,前两周我看到其创始人发了一个朋友圈,里面有这样的一张图片:
没有动辄 1w+ 的浮夸,没有 offer 选不过来的困扰。这个薪资水平可能才代表了大多数双非本科毕业的、刚刚入行的程序员的标准。
一个培训班至少也有好几十人,在这一群人里面选了九个薪资还算说得过去的做为宣传。这样克制的宣传,加上我对成都的了解,
我相信里面不会有夸大的成分。
这样的程序员大多出没在软件园,刚刚入行的前两年左右的时间,他们在小公司里面拿着 10000 左右的工资,税后大概两个月挣一个平方的钱。
更别说其
他的服务行业从事
者了,
基本上
一个月
3000 多点
。
你不要以为我说的是少部分,这样的人真的很多。软件园这么大,而叫的出名字的就那么几家公司。绝大部分都是小型公司,他们可能真的觉得你是人才,但是他们可能也真的给不起钱。
其实房价这个事情,客观的讲不能怪成都。这个事情,你放到任何一个二线以上的城市,都不会是一个轻松的话题,和休闲更是沾不上边。
只是从我所经历的事情来看,成都这两年的房价由于政策原因真的是突飞猛进。短短 3 年不到的时间,就已经是翻了至少一倍。
而且一件非常神奇的事情是,由于限购政策的出台,导致非常多的人摇不到号,那些真正的刚需转而投向二手房市场,我身边这样的例子太多太多了。
如果你不懂行,你去问他们:“为什么要买二手房,而不买新房呢?”。
他们都会说:“你以为我不想吗?摇不上号啊!摇了无数次了!我等不起了!”
一共 786 套房子,有 40568 人报名摇号。刚需的中签率是 2.43%。
清水售价 1.3w ,而周围的二手房价格大概在 1.7w 左右。
4k 一平的剪刀差(二手房和新房的价格差),你就算买到一个最小的 108 平,到手就赚 43w。足够让工薪阶层的人疯狂。
当然这个算法肯定是不严谨的,我举这个楼盘也是少有的神盘,但是我想表达的是:
这种盘真刚需和假刚需都会想要去试一试,普通资格的人也会来凑热闹,买来就是投资。基数大了,导致
就算你是真刚需,也很难摇到
心仪的楼盘。最终,没有房的真刚需抗不住了,退而求其次转向二手房市场。而投资者们,还在乐此不疲的摇着一个又一个神盘,摇中了,成都又多一套二手房,稳赚几十万。毕竟,名下已经有房了,不慌。
而且,关于房子我必须要说一句,成都现在清水房基本上是灭绝了,全是精装房。
平均 3k 一平的精装房装修,客气一点来说,开发商吃相太难看了,装出来的东西都没眼看。
不客气的说,我花钱买几只哈士奇,让他们进屋一顿输出,最终的效果都比开发商装修的好。因为反正有钱又追求品质的人是选择全部翘掉,重新装修的。
就精装房这个事,成都又叫维权之都。了解一下?(需要说明一下,这里我不是黑成都,精装房这个事全国都有,只是我在成都,了解的更多的是成都方面的消息。)
我身边的真事,之前有个同事请假,请假理由写的是:精装房维权。
老板会心一笑,点了通过审批,然后说了一句:“任重道远,要加油哦。
”
好不容易摇到号了,工作日努力工作加班挣钱,周末还要去四处维权,争取自己的利益。
所以,魔怔的房价,疯狂的房市,让这座原本休闲的成都,变的并不是这么休闲了。
房价起来了,人们也开始慢慢的忙碌起来了。房价,它在催着你往前走。
而最有购买力的人群代表之一,就是软件园的程序猿们,所以每次出地铁口你都会看见售楼小哥哥给你发传单,诱惑你,让你去买公寓,让你去买非常非常远的地方,比如那个神奇的地方:视高。因为他们知道你没有购房资格,就算有你也摇不到号,所以你就是他们的潜在客户。
所以你说那些来蓉漂的人,他们不想在成都买一套自己的房子,真正的扎根下来吗?
为了这一套房子,你说来成都做蓉漂的人会觉得忙碌吗?
当然是会了,但是他们中的大多数最后都会靠自己的努力留在成都。而离开的那一部分人,走的时候也会轻轻的说一句谢谢成都。
成都欢迎你,但是成都也从来不挽留你,只是在你走的时候会给你说:欢迎再来。
在场的大多数人都是北漂。无论什么理由,都是自己选择的北漂。这就像一场考试,既然你选择了最难的题,就不要用随便的方式去做。
这就像一场考试,既然你主动的选择了成都这套题,就不要用随便的方式去做。也不要被各种繁杂的信息所迷惑,看好自己眼前的路,坚定的走下去就行了。现在贩卖焦虑已经是一件非常普遍的事情了,别人卖,你别买就行。包括我这篇文章,也有贩卖焦虑的倾向。
这篇文章我完全可以从另外一个角度去表现我所听到的成都,那个成都是休闲之都,人人都早九晚六,早上自然醒,晚上夜生活,周末四处游玩。我身边有这样的朋友,他们的生活就是这样。
在微信群,经常听见他们的语言:下班没,走切耍~噻。(出去玩,而且这个耍字要拖音长一点)。科华南路又整了一家网红店,走切尝一哈嘛。
另外一个人回复是:哎呀,耍不起了 。昨天晚上被喝翻了,今天就喝点养生茶,搓几圈麻将就行了,你们切吃嘛,回来给我描述一哈味道就行了。(背景音里面还有麻将碰撞的声音。)
也许这就是成都两种人的真实生活写照吧。他们代表着老成都,而我代表着新一代的奋斗逼。
奋斗
逼终将胜利。
因为一个更加残酷的事实是,你在成都也许努努力,垫垫脚,家人帮衬帮衬,还能拥有一个属于自己的小天地。但是你在一线城市想留下来,除了努力之外,你还需要一部分运气,而运气这个事情,你说的准吗?
上面杂七杂八的说了这么多,所以你说成都生活节奏慢吗?
三环内的老成都,生活也许慢一点,但是你来软件园看一眼。它能慢一下嘛?
最后说一句(求关注)
最后,封面图送给大家,我拍的,麻辣牛肉,味道巴适的很:
大家安排个“一键三连”(
转发、在看、点赞)吧,周更很累的,不要白嫖我,需要一点正反馈。
感谢您的阅读,我坚持原创,十分欢迎并感谢您的关注。

我是 why,一个被代码耽误的文学创作者,不是大佬,但是喜欢分享,是一个又暖又有料的四川好男人。
往期回顾
本文分享自微信公众号 - why技术(hello_hi_why)。
如有侵权,请联系 support@oschina.cn 删除。
本文参与“OSC源创计划”,欢迎正在阅读的你也加入,一起分享。
来源:oschina
链接:https://my.oschina.net/u/4222872/blog/4436625