-
1.0 激光测距的优势:
激光测距技术与一般光学测距技术相比,具有操作方便、系统简单及白天和夜晚都可以工作的优点.
与雷达测距相比,激光测距具有良好的抗干扰性和很高的精度,而且激光具有良好的抵抗电磁波干扰的能力,尤其在探测距离较长时,激光测距的优越性更为明显.
激光测距技术是指利用射向目标的激光脉冲或连续波激光束测量目标距离的距离测量技术.
比较常用的激光测距方法有脉冲法、相位法、三角法和干涉法激光测距.
本文主要探讨下激光三角法的基本原理和工业相机原理:
-
1.1 激光三角法的基本原理
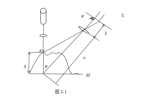
光电技术的快速发展,以及计算机的高速发展,数字处理技术的发展等等促使形成了三角激光测距技术.三角法激光测距系统拥有光源、待测物和图像接传感器,分别放置在三个点上,构成三角形的几何结构,所以称为光学三角法基本原理如图2.1所示,由激光器发射出一束激光入射到待测物体表面后发生漫反射,反射光经成像镜透镜聚焦,成像在图像传感器的光敏器件上,再通过计算机得到光斑的图像信息,最后经数字处理计算出光斑中心位置.
在进行测量前一般有如下几步骤:
1.准直镜头 激光平行光学入射
2.对焦 即在基准面上观察光斑位置 是否在基准面原点位置 或在 X轴的轴线位置
3.基准面为一十字交叉的线条为相机软件显示
4.标定相机



该图激光线测量物体三维信息的示意图。图中: i 为入射光;L 为透镜;N 为成像屏; u 为透镜L 的物距; v 为透镜L 的像距; O 为L 光轴与光线i 的交点; A 为物面上的光点; A′, O′分别为A , O 的像点; h 为物面上光点相对于基准面M 的高度;α为光线与光轴的夹角。
接收面板光斑图像如下:

测距几何关系的推导可以根据图2.1几何关系和相似三角形自行推导这里不在陈述
-
1.2 关于工业相机的基本知识
-
焦点(focus)
-
弥散圆(confusion cirlce)
-
景深(DOF)
-
景深的计算
-
焦点
与光轴平行的光线射入凸透镜时,理想的镜头应该是所有的光线聚集在一点后,再以锥状的扩散开来,这个聚集所有光线的一点,就叫做焦点。

-
: 弥散圆
在焦点前后,光线开始聚集和扩散,点的影象变成模糊的,形成一个扩大的圆,这个圆就叫做弥散圆。
在现实当中,观赏拍摄的影象是以某种方式(比如投影、放大成照片等等)来观察的,人的肉眼所感受到的影象与放大倍率、投影距离及观看距离有很大的关系,如果弥散圆的直径小于人眼的鉴别能力,在一定范围内实际影象产生的模糊是不能辨认的。这个不能辨认的弥散圆就称为容许弥散圆(permissible circle of confusion)。

-
景深
在焦点前后各有一个容许弥散圆,这两个弥散圆之间的距离就叫景深,即:在被摄主体(对焦点)前后,其影像仍然有一段清晰范围的,就是景深。换言之,被摄体的前后纵深,呈现在底片面的影象模糊度,都在容许弥散圆的限定范围内。
景深随镜头的焦距、光圈值、拍摄距离而变化。对于固定焦距和拍摄距离,使用光圈越小,景深越大。 主要不要过光了

-
景深的计算
下面是景深的计算公式。其中:
δ: 容许弥散圆直径
f:镜头焦距
F:镜头的拍摄光圈值
L:对焦距离
ΔL1:前景深
ΔL2:后景深
ΔL:景深

从公式中可以看出,后景深 > 前景深。
由景深计算公式可以看出,景深与镜头使用光圈、镜头焦距、拍摄距离以及对像质的要求(表现为对容许弥散圆的大小)有关。这些主要因素对景深的影响如下(假定其他的条件都不改变):
(1)、镜头光圈:
光圈越大,景深越小;光圈越小,景深越大;
(2)、镜头焦距
镜头焦距越长,景深越小;焦距越短,景深越大;
(3)、拍摄距离
距离越远,景深越大;距离越近,景深越小。
参考文献:http://www3.xitek.com/xuetang/optics/depthoffield.htm
来源:oschina
链接:https://my.oschina.net/u/4258260/blog/4372124