考勤管理
点击组件-考勤管理,即可打开考勤管理系统。
我的考勤月报
打开考勤管理系统后,会展示我的考勤月报,您可以查看当月的考勤,如下图:
考勤日历:以日历的形式展现当月的考勤结果,并以不同的颜色表示出勤状态。
考勤汇总:用饼图展现考勤状态(出勤、请假、迟到、缺勤、申诉、工时不足)在本月所占的比例。
上下班走势图:提供上班时间和下班时间的走势信息数据,用折线图展现上下班时间的趋势。

右边可以查看排班时间表。
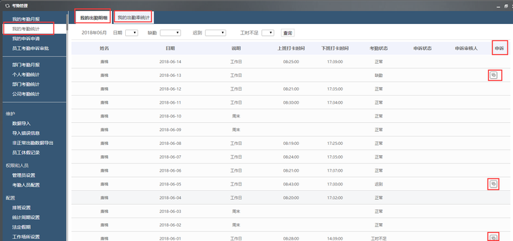
我的考勤统计
点击考勤管理-我的考勤统计,可以查看我的出勤明细、我的出勤统计。

我的出勤明细:显示当前考勤周期里每天的打卡时间和考勤状态,并可根据考勤状态查询。如果您对考勤状态有异议的时候,可以向上级提出申诉,领导审批后可修改考勤状态。点击有异常的明细后面的申诉标识,会弹出申诉申请单。在申诉申请单里选择相应的申诉原因,并确定。

我的出勤率统计:显示当前考勤周期里各种考勤状态的次数。
我的申诉申请
点击考勤管理-我的申诉申请,查看各种已提交的申诉状态、申诉原因的申诉申请。

员工考勤申诉审批
点击考勤管理-员工考勤申诉审批,员工提成申诉后,其审批人可在此单个或批量处理审批单。

系统提供批量处理申诉的数据的功能,选择同意或者不同意
部门考勤月报
用于部门管理员、公司管理员查看部门的考勤月报,有权限限制。如果部门管理员管理多个部门,可以在部门间切换。

部门考勤数据展现样式:图表展示、趋势图展示、数据列表展示
个人考勤统计
个人出勤明细:用于按年度、月份来查询员工个人的考勤记录
个人出勤率统计:用于按按年度、月份统计工个人的考勤记录
部门考勤统计、公司考勤统计同上

人员:输入人员姓名
年度,月份:选择相应的年份和月份
维护管理
员工休假记录
员工休假记录:是从请假流程的数据对接过来的。请假流程发起后,自动将数据展现到该员工休假记录中。

导出员工休假记录:点击该按钮,导出数据到Excel表

数据导入

- 下载Excel模板:系统提供模板规范格式
- 导入考勤数据:考勤数据根据模板规范格式进行填写
- 核对考勤数据:核对考勤数据,系统自动比对数据格式是否填写正确
- 分析考勤数据:对考勤数据进行分析
- 统计考勤数据:统计考勤数据整理出统计的数据
导入错误信息

功能:删除文件
非正常出勤数据导出

导出:选择年度和月份,导出数据到Excel
权限设置

按钮:新建管理员,配置角色,人员名称,部门信息。
操作:删除配置文档

配置角色信息
选择所属单位
配置人员信息
排班设置
操作:新建排班设置

单位:可选择公司或者部门
上班时间:选择时间
下班时间:选择时间
迟到起算时间:选择
早退起算时间:选择
矿工起算时间:选择
配置后,点击“保存”按钮
法定假期

操作:新建假期,定义假期时间

年度:选择年度
假期名称:输入名称
开始日期:选择
结束日期:选择
补班日期:选择
统计周期设置

操作:添加统计周期
删除:删除配置文档

统计周期设置
公司名称:可输入*号,表示包含所有
部门名称:可输入*号,表示包含所有
统计周期年份:选择
统计周期月份:选择
开始日期:选择
结束日期:选择
配置后,点击“确定”保存
考勤人员配置

操作:新增考勤人员配置
删除:删除配置文档

配置类型:选择
公司名称:选择
部门名称:选择
员工姓名:选择
员工编号:输入
入职日期:选择
点击“确定”后,保存
工作场所设置
定义工作地点
申诉设置

申诉及审批功能启用状态:选择
考勤结果申诉审核人确定方式:选择
考勤结果申诉审核人确定内容:输入“直属领导”
来源:oschina
链接:https://my.oschina.net/o2oa/blog/3190334