
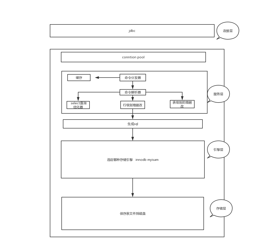
mysql一共分为四层,分别是连接层,业务层,引擎层,存储层。
1.mysql会对命令进行处理,查询缓存(在mysql的my.ini文件里开启),
2.如果没有进入命令解析器,
3.mysql的sql语句解析顺序为
	from,
	left join
	 where
	  ,group by
	  ,select,
	  order by
	  ,limit
4.根据不同的命令分发到不同的位置上,如查询和增删改是不一样的。
	查询优化器:组合索引顺序颠倒,查询优化器会自动调整,匹配联合索引顺序
5.生成mysql自己执行的SQL语句
6.查询
7.返回
mysql有十余种存储引擎,我们常用的是innodb和myisam,二者的区别是:
5.5之前mysql默认存储引擎为myisam
myisam:偏向于读
	1.不支持主外键
	2.不支持事务
	3.表锁
	4.只缓存索引不缓存真真实数据
	5.表空间小
	6.关注点===》性能
	
innodb:读写
	1.支持主外键
	2.支持事务
	3.行锁
	4.缓存索引和数据
	5.表空间大
	6.关注点 ===》事务
来源:CSDN
作者:氵何章怀晓 。
链接:https://blog.csdn.net/GiantCrocodile/article/details/104316528