这里结合源码分析一下ArrayList的扩容机制,基于JDK8 参考文章,点击这里
首先分析ArrayList源码中的属性
/**
* 默认初始容量大小
*/
private static final int DEFAULT_CAPACITY = 10;
private static final Object[] DEFAULTCAPACITY_EMPTY_ELEMENTDATA = {};
/**
* The array buffer into which the elements of the ArrayList are stored.
* The capacity of the ArrayList is the length of this array buffer.
* 【 Any empty ArrayList with elementData == DEFAULTCAPACITY_EMPTY_ELEMENTDATA
* will be expanded to DEFAULT_CAPACITY when the first element is added.】
*/
transient Object[] elementData; // non-private to simplify nested class access
/**
*默认构造函数,使用初始容量10构造一个空列表(无参数构造)
*/
public ArrayList() {
this.elementData = DEFAULTCAPACITY_EMPTY_ELEMENTDATA;
}
上述注释中有这样一段话
Any empty ArrayList with elementData ==DEFAULTCAPACITY_EMPTY_ELEMENTDATA will be expanded to DEFAULT_CAPACITY when the first element is added.
意思是,以无参数构造方法创建 ArrayList 时,实际上初始化赋值的是一个空数组。当真正对数组进行添加元素操作时,才真正分配容量。即向数组中添加第一个元素时,数组容量扩为10
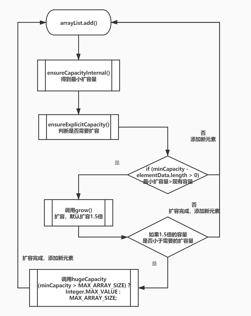
1)当我们向 ArrayList添加数据时,首先调用add()方法
public boolean add(E e) {
//添加元素之前,先调用ensureCapacityInternal方法
ensureCapacityInternal(size + 1); // Increments modCount!!
elementData[size++] = e;
return true;
}
2)调用ensureCapacityInternal(),该方法是为了得到最小扩容量,比如说,默认参数是10,如果这时候只有一个参数,容量为1,就令minCapacity = 10,如果添加的元素大于10比如说11,则令minCapacity = 11
//得到最小扩容量,注意不是容量
private void ensureCapacityInternal(int minCapacity) {
if (elementData == DEFAULTCAPACITY_EMPTY_ELEMENTDATA) {
// 获取默认的容量和传入参数的较大值
minCapacity = Math.max(DEFAULT_CAPACITY, minCapacity);
}
ensureExplicitCapacity(minCapacity);
}
3)调用ensureExplicitCapacity()方法,判断是否需要扩容
//判断是否需要扩容
private void ensureExplicitCapacity(int minCapacity) {
modCount++;
// 如果最小扩容量 - 现有的容量 > 0,则需要扩容
if (minCapacity - elementData.length > 0)
//调用grow方法进行扩容,调用此方法代表已经开始扩容了
grow(minCapacity);
}
- 例如:当我们 add 第1个元素到 ArrayList 时,elementData.length = 0 ,因为执行了 ensureCapacityInternal() 方法 ,所以 minCapacity =10。此时,minCapacity - elementData.length > 0 成立,所以会进入 grow(minCapacity) 方法。
- 添加第2,3,4···到第10个元素时,不会执行grow方法,因为minCapacity - elementData.length < 0 ,数组容量都为10。
- 直到添加第11个元素,minCapacity(为11)比elementData.length(为10)要大。进入grow方法进行扩容。
4)调用grow()扩容方法
其中最重要的一句话是int newCapacity = oldCapacity + (oldCapacity >> 1),所以ArrayList每次扩容后会是原来的1.5倍
private void grow(int minCapacity) {
// oldCapacity为旧容量,newCapacity为新容量
int oldCapacity = elementData.length;
//将oldCapacity 右移一位,其效果相当于oldCapacity /2
int newCapacity = oldCapacity + (oldCapacity >> 1);
//然后检查新容量是否大于最小需要容量,若还是小于最小需要容量,那么就把最小需要容量当作数组的新容量,
if (newCapacity - minCapacity < 0)
newCapacity = minCapacity;
// 如果新容量大于 MAX_ARRAY_SIZE,进入 hugeCapacity() 方法来比较 minCapacity 和 MAX_ARRAY_SIZE,
if (newCapacity - MAX_ARRAY_SIZE > 0)
newCapacity = hugeCapacity(minCapacity);
// minCapacity is usually close to size, so this is a win:
elementData = Arrays.copyOf(elementData, newCapacity);
}
5)如果扩容1.5倍仍不满足,调用hugeCapacity() 方法
//对minCapacity和MAX_ARRAY_SIZE进行比较
//若minCapacity大,将Integer.MAX_VALUE(整型的最大值)作为新数组的大小
//若MAX_ARRAY_SIZE大,将MAX_ARRAY_SIZE作为新数组的大小(MAX_ARRAY_SIZE = Integer.MAX_VALUE - 8,这个在之前的定义里)
private static int hugeCapacity(int minCapacity) {
if (minCapacity < 0) // overflow
throw new OutOfMemoryError();
return (minCapacity > MAX_ARRAY_SIZE) ?
Integer.MAX_VALUE :
MAX_ARRAY_SIZE;
}
画一个流程图总结一下:
来源:CSDN
作者:MisslittleT
链接:https://blog.csdn.net/Annie201799/article/details/104214834