散列表
散列表又称为哈希表,英文“Hash Table”。
散列表思想利用的是数组支持按照下标随机访问数据的特性。
散列函数:
通过key,计算出value,value就是表示将数据放入数组的那个位置。
哈希冲突:
不同的key,可能会得到相同的value,这是就产生了哈希冲突。
解决哈希冲突可以使用开放寻址法(线性探测、二次探测、双散列等)或者链地址法来解决。
装载因子:
装载因子 = 散列表中存储的数据个数/散列表的大小
装载因子越大,说明散列表中的元素越多,空闲位置越少,散列冲突的概率就越大。不仅插入数据的过程要多次寻址或者拉很长的链,查找的过程也会因此变得很慢。
散列表的设计
散列函数
- 散列函数不能太复杂,否则计算哈希值的消耗太大
- 散列函数生成的值要尽可能随机且均匀分布,这样才能避免或者减小散列冲突
- 散列函数的设计还要考虑key的特性(长度、分布等),比如手机号,前几位重复率很高,后几位重复率较低,那么就可以取后几位作为value
Redis中采用的散列函数有:times33和siphash算法,PHP中也采用了times33作为散列函数,还使用了或运算。
装载因子和动态扩容
当装载因子超过设置的阈值(一般是0.75)的时候,就需要对散列表重新扩容,这样就会导致所有数据的重新散列。如果当前散列表中的数据很大,需要把散列表扩容为原大小的2倍,则之前的数据都需要重新扩容,这个过程很消耗时间,因此扩容操作不能一次性完成。
Redis中的底层数据结构字典就使用了散列表结构,它的扩容方式是:
- redis维护了两个哈希表ht[0]和ht[1]和一个rehashidx变量,初始值为-1
- 当ht[0]中的数据超过阈值,则为ht[1]分配扩容后的空间大小,并将rehashidx值设置为0表示开始重新计算哈希值(称为rehash)
- 在rehash期间,对字典执行添加、删除、查找或者操作时,程序除了执行这些操作外,还会顺带将ht[0]哈希表在rehashidx索引上的所有键值对rehash到ht[1]上,然后rehashidx加1
- 随着字典执行增删改查操作,ht[0]中的所有键值对最终会被rehash到ht[1]上,这时将rehashidx设置为-1,表示rehash完成
解决哈希冲突
开放寻址法
优点:
- 采用开放寻址法,数据最终还是存储在散列表数组中的,可以有效利用CPU缓存加速查询
- 对数据进行序列化时简单
缺点:
- 删除数据很麻烦,因为不能直接删除,而是对需要删除的元素做删除标记,这也会导致冲突的概率更大,也会浪费空间
- 装载因子过大,导致查询效率低
适用性:
- 适用于数据量小,装载因子小的情况下
链表法
优点:
- 需要内存的时候再去开辟,而不是预先定义好一个能存放所有数据的数组,节约了空间
- 对哈希冲突的容忍度更高,因为链表法解决哈希冲突采用的是链表,哈希冲突只是导致链表的长度增加
缺点:
- 由于数据是零散分布在内存中的,因此对CPU缓存利用率不好
- 需要额外的内存来存储指针,如果要存储的数据很小,那4字节的指针就会显得很浪费空间
- 对数据序列化比较麻烦
- 极端情况下,所有的数据散列到一个slot内,那么查询的时间复杂度就会变为O(logn)
适用性:
- 数据量大,并且单个数据占用的内存较大的情况下
链表法解决哈希冲突的优化
在Java8中,HashMap底层实现就用了散列表,解决冲突的办法是链地址法+红黑树,当链表长度超过8的时候,链表就会转换为红黑树,当红黑树节点小于6的时候,红黑树又会装换为链表。
小结
总之,散列表的设计要满足的要求为:
- 能够实现快速增、删、查操作
- 内存占用合理
- 性能稳定,不能再极端情况下,查询时间复杂度严重退化
这就需要我们设计优秀的: - 散列函数
- 转载因子阈值
- 解决冲突的方法
- rehash的方法
元素的有序性
有些时候,我们需要维护元素的有序性,即元素取出时按照插入的顺序有序,而散列表中的元素是经过散列函数打乱顺序的。
使用散列表和链表的组合方式维护元素输出的有序性,大概就像下面这样:
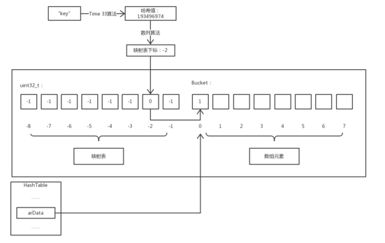
在PHP的数组底层实现中,由于要保证元素的增、删性能,因此也用了哈希表数据结构来实现。下图中显示的是映射表(类似哈希表的作用)的-2号位置指向了数组的0号位置:
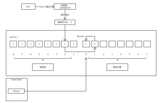
当再插入一个元素的时候,如果该元素的哈希值也是哈希表中的-2号位置,由于新元素要存入数组的1号位置(保证了数组的地址连续性和有序性),因此将哈希表-2号位置的值由0变成1,然后数组1号位置的数据的next指针指向数组0号位置,如下图所示:
这样既解决了哈希冲突,又解决了元素的有序性,还是挺巧妙的。
附录
哈希表在Redis底层数据结构中的应用:《Redis源码解析(3)字典》
哈希表在PHP底层数据结构中的应用:《PHP数组源码解读和底层实现分析》
来源:CSDN
作者:IT_10-
链接:https://blog.csdn.net/IT_10/article/details/103723170