微型计算机的基本工作过程

爱⌒轻易说出口 提交于 2019-11-27 05:48:44

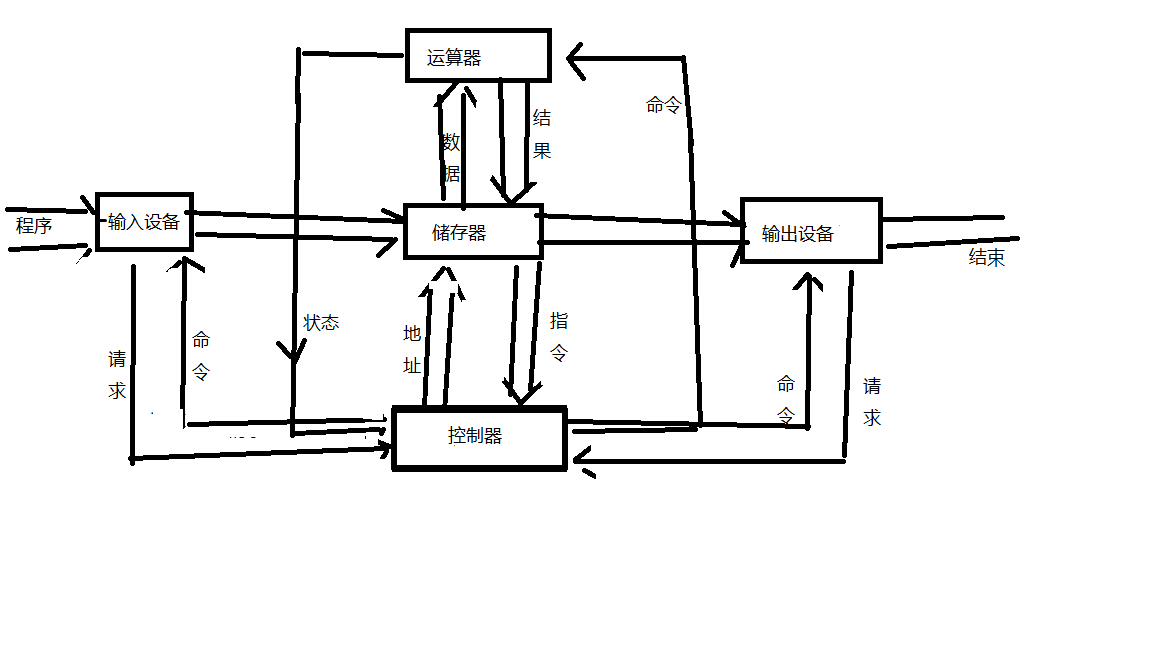
计算机程序执行流程
当一个程序进入系统时
,首先进入输入设备当进入输入设备时会向运算器发出请求,如果控制器可以执行,便会给输入设备发出一条指令,程序会进入储存器,储存器会将数据发送给运算器,运算器会将结果返回给储存器,控制器会对运算器发出一条指令,运算器会将状态返回给控制器,最后储存器将结果发给输出设备,输出设备会向控制器发出请求,控制器返回一个指令,最后输出结果

易学教程内所有资源均来自网络或用户发布的内容,如有违反法律规定的内容欢迎反馈
该文章没有解决你所遇到的问题?点击提问,说说你的问题,让更多的人一起探讨吧!