吃透移动端 1px

只谈情不闲聊 提交于 2019-12-16 11:56:08

前言

最近在写移动端 H5 应用,遇到一个值得记录下来的点。现在从它的由来到实现,我们来聊一下移动端 1px,说 1px 不够准确,应该说成 1 物理像素

通过阅读下面文章,你将会理解以下问题:

问题

  • 为什么有 1px 这个问题?
  • 实现 1px 有哪些方法?这些方法分别有哪些优缺点?
  • 开源项目中使用的哪些解决方案?
  • 如何在项目中处理 1px 的相关问题?

由来

基本概念

首先,我们要了解两个概念,一个是像素(pixel)可以简写为px,另外一个是设备像素比(DPR)

像素 :指在由一个数字序列表示的图像中的一个最小单元,单位是 px,不可再次分割了。

设备像素比(DPR): 设备像素比 = 设备像素 / 设备独立像素。

下面我来简单解释下几个概念

  • CSS 像素 (虚拟像素):指的是 CSS 样式代码中使用的逻辑像素,在 CSS 规范中,长度单位可以分为两类,绝对单位以及相对单位。px 是一个相对单位,相对的是设备像素。
  • 设备像素 (物理像素):指设备能控制显示的最小物理单位,意指显示器上一个个的点。从屏幕在工厂生产出的那天起,它上面设备像素点就固定不变了,和屏幕尺寸大小有关。
  • 设备独立像素 (逻辑像素):可以认为是计算机坐标系统中得一个点,这个点代表一个可以由程序使用的虚拟像素(比如: CSS 像素),这个点是没有固定大小的,越小越清晰,然后由相关系统转换为物理像素。

也就是说,当逻辑像素是 1pt 时,在 DPR 为 2 的 设备上显示为 2px 的物理像素

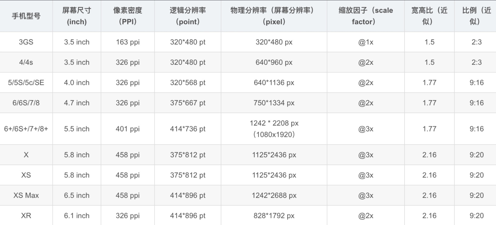
参考数据

各种类型的 iphone 手机屏幕设备的参数

注:这里的缩放因子呢,就是 DRP 的值

设计稿对比数据

会有人好奇,为什么设计稿上显示是 750x1334 呢,这是因为设计稿是显示的物理像素

而我们 css 中的像素是逻辑像素应该为 375x 667,在编写代码时要将自定义宽度设置成 375px

那么此时设计稿上的 1px 宽度实际代表的 css 参数应该是 0.5px 对应物理像素 1px,那么怎么实现这个物理像素为 1px 呢

实践

归根结底有两种方案,一种是利用 css 中的transfrom:scaleY(0.5),另一种是设置 媒体查询根据不同 DPR 缩放

解决方案一

原理

利用 css 的 伪元素::after + transfrom 进行缩放

为什么用伪元素?
因为伪元素::after::before是独立于当前元素,可以单独对其缩放而不影响元素本身的缩放

伪元素大多数浏览器默认单引号也可以使用,和伪类一样形式,而且单引号兼容性(ie)更好些

实现

<div class="cell border-1px"> cell <div>

<style>
.cell {
    width: 100px;
    height: 100px;
}
<!--全部边框-->
.border-1px:after {
    content: '';
    position: absolute;
    box-sizing: border-box;
    top: 0;
    left: 0;
    width: 200%;
    height: 200%;
    border: 1px solid #000;
    border-radius: 4px;
    -webkit-transform: scale(0.5);
    transform: scale(0.5);
    -webkit-transform-origin: top left;
}

<!--单边框,以上边框为例-->
.border-1px-top:before {
    content: "";
    position: absolute;
    top: 0;
    left: 0;
    right: 0;
    border-top: 1px solid red;
    transform: scaleY(.5);
    transform-origin: left top;
}
</style>

解决方案二(升级方案一)

原理

使用 less 对公共代码(方案一)封装,同时增加媒体查询分别对不同 DPR 的设备,进行不同的缩放

.border(
    @borderWidth: 1px; 
    @borderStyle: solid; 
    @borderColor: @lignt-gray-color; 
    @borderRadius: 0) {
    position: relative;
    &:before {
        content: '';
        position: absolute;
        width: 98%;
        height: 98%;
        top: 0;
        left: 0;
        transform-origin: left top;
        -webkit-transform-origin: left top;
        box-sizing: border-box;
        pointer-events: none;
    }
    @media (-webkit-min-device-pixel-ratio: 2) {
        &:before {
            width: 200%;
            height: 200%;
            -webkit-transform: scale(.5);
        }
    }
    @media (-webkit-min-device-pixel-ratio: 2.5) {
        &:before {
            width: 250%;
            height: 250%;
            -webkit-transform: scale(.4);
        }
    }
    @media (-webkit-min-device-pixel-ratio: 2.75) {
        &:before {
            width: 275%;
            height: 275%;
            -webkit-transform: scale(1 / 2.75);
        }
    }
    @media (-webkit-min-device-pixel-ratio: 3) {
        &:before {
            width: 300%;
            height: 300%;
            transform: scale(1 / 3);
            -webkit-transform: scale(1 / 3);
        }
    }
    .border-radius(@borderRadius);
    &:before {
        border-width: @borderWidth;
        border-style: @borderStyle;
        border-color: @borderColor;
    }
}

.border-all(
	@borderWidth: 1px; 
	@borderStyle: solid; 
	@borderColor: @lignt-gray-color; 
	@borderRadius: 0) {
    .border(@borderWidth; @borderStyle; @borderColor; @borderRadius);
}

其他方案:

  • 使用图片:兼容性最好,灵活行最差,不能改变颜色、长度
  • 使用 viewportremjs 动态改变 viewportscale 缩放,缺点在于不适用于已有的项目,例如:使用 vhvw 布局的
        <meta name="viewport" id="WebViewport" content="initial-scale=1,    maximum-scale=1, minimum-scale=1, user-scalable=no">
    
  • 使用 css 渐变linear-gradient或者box-shadow

上述 3 种方案均有致命缺陷暂不推荐使用

兼容性

最后看一下兼容性如何,主要是伪元素、transform:scalemin-device-pixel-ratio 这几个关键词的兼容性

开源库的解决方案

vant 组件库

跳去 github 查看相关代码

使用less写的


.hairline-common() {
  position: absolute;
  box-sizing: border-box;
  content: ' ';
  pointer-events: none;
}

.hairline(@color: @border-color) {
  .hairline-common();

  top: -50%;
  right: -50%;
  bottom: -50%;
  left: -50%;
  border: 0 solid @color;
  transform: scale(0.5);
}

也是采用第一种解决方案

ant-design-mobile 组件库

跳去 github 查看相关代码

.scale-hairline-common(@color, @top, @right, @bottom, @left) {
  content: '';
  position: absolute;
  background-color: @color;
  display: block;
  z-index: 1;
  top: @top;
  right: @right;
  bottom: @bottom;
  left: @left;
}

.hairline(@direction, @color: @border-color-base) when (@direction = 'top') {
  border-top: 1PX solid @color;

  html:not([data-scale]) & {
    @media (min-resolution: 2dppx) {
      border-top: none;

      &::before {
        .scale-hairline-common(@color, 0, auto, auto, 0);
        width: 100%;
        height: 1PX;
        transform-origin: 50% 50%;
        transform: scaleY(0.5);

        @media (min-resolution: 3dppx) {
          transform: scaleY(0.33);
        }
      }
    }
  }
}

.hairline(@direction, @color: @border-color-base) when (@direction = 'right') {
  border-right: 1PX solid @color;

  html:not([data-scale]) & {
    @media (min-resolution: 2dppx) {
      border-right: none;

      &::after {
        .scale-hairline-common(@color, 0, 0, auto, auto);
        width: 1PX;
        height: 100%;
        background: @color;
        transform-origin: 100% 50%;
        transform: scaleX(0.5);

        @media (min-resolution: 3dppx) {
          transform: scaleX(0.33);
        }
      }
    }
  }
}
.hairline(@direction, @color: @border-color-base) when (@direction = 'bottom') {
  border-bottom: 1PX solid @color;
  html:not([data-scale]) & {
    @media (min-resolution: 2dppx) {
      border-bottom: none;
      &::after {
        .scale-hairline-common(@color, auto, auto, 0, 0);
        width: 100%;
        height: 1PX;
        transform-origin: 50% 100%;
        transform: scaleY(0.5);
        @media (min-resolution: 3dppx) {
          transform: scaleY(0.33);
        }
      }
    }
  }
}

.hairline(@direction, @color: @border-color-base) when (@direction = 'left') {
  border-left: 1PX solid @color;

  html:not([data-scale]) & {
    @media (min-resolution: 2dppx) {
      border-left: none;

      &::before {
        .scale-hairline-common(@color, 0, auto, auto, 0);
        width: 1PX;
        height: 100%;
        transform-origin: 100% 50%;
        transform: scaleX(0.5);

        @media (min-resolution: 3dppx) {
          transform: scaleX(0.33);
        }
      }
    }
  }
}

.hairline(@direction, @color: @border-color-base, @radius: 0) when (@direction = 'all') {
  border: 1PX solid @color;
  border-radius: @radius;

  html:not([data-scale]) & {
    @media (min-resolution: 2dppx) {
      position: relative;
      border: none;

      &::before {
        content: '';
        position: absolute;
        left: 0;
        top: 0;
        width: 200%;
        height: 200%;
        border: 1PX solid @color;
        border-radius: @radius * 2;
        transform-origin: 0 0;
        transform: scale(0.5);
        box-sizing: border-box;
        pointer-events: none;

        // @media (min-resolution: 3dppx) {
        //   width: 300%;
        //   height: 300%;
        //   border-radius: @radius * 3;
        //   transform: scale(0.33);
        // }
      }
    }
  }
}

这个值得研究下,比 vant 和 第一种解决方案有点不同,主要在于处理了 DPR 为 2 和为 3 的两种情况,相比来说更加完善。

这里 PX 大写,为了防止插件将 px 转成 rem 等单位

总结

通过该文,你大概了解 1px 问题的来龙去脉了吧,也明白了如何解决相关问题,如果这票文章能解决你的疑问或者工作中问题,不妨点个赞收藏下。

由于技术水平有限,文章中如有错误地方,请在评论区指出,感谢!

接下我应该会关于移动端 H5 布局问题和一些踩坑进行一段学习工作总结,不妨点个关注。

易学教程内所有资源均来自网络或用户发布的内容,如有违反法律规定的内容欢迎反馈
该文章没有解决你所遇到的问题?点击提问,说说你的问题,让更多的人一起探讨吧!