学习到的内容
Linux下的应用大多可以直接使用,也可以获取源代码自己进行编译、安装,使用源代码安装的过程一般是:
configure
make
make install
gcc -o test_openssl test_openssl.c -I /usr/local/ssl/include -L /usr/local/ssl/lib -lcrypto -ldl -lpthread
上面这句表示在编译test_openssl.c时:
-o test_openssl test_openssl.c:
将test_openssl.c编译生成可执行文件test_openssl(如果不给出这个选项,gcc就给出预设的可执行文件a.out)
-I /usr/local/ssl/include:
将/usr/local/ssl/include目录作为第一个寻找头文件的目录,寻找的顺序是:/usr/local/ssl/include-->/usr/include-->/usr/local/include
-L /usr/local/ssl/lib:
将/usr/local/ssl/lib目录作为第一个寻找库文件的目录,寻找的顺序是:/usr/local/ssl/lib-->/lib-->/usr/lib-->/usr/local/lib
-L:指定链接库的文件夹地址
-ldl:加载动态库
-lcrypto:导入OpenSSL所需包
-lpthread:链接POSIX thread库
任务一 Linux下openssl的安装与使用
penSSL应用程序
通过man openssl查看帮助文档:
OpenSSL密码算法库
编写一个测试代码test_openssl.c:
include <stdio.h>
include <openssl/evp.h>
int main(){
OpenSSL_add_all_algorithms();
return 0;
}
使用gcc -o test_openssl test_openssl.c -L/usr/local/ssl/lib -lcrypto -ldl -lpthread命令编译生成可执行文件test_openssl
执行echo $?,结果打印0,表明测试通过,如下图:
任务二
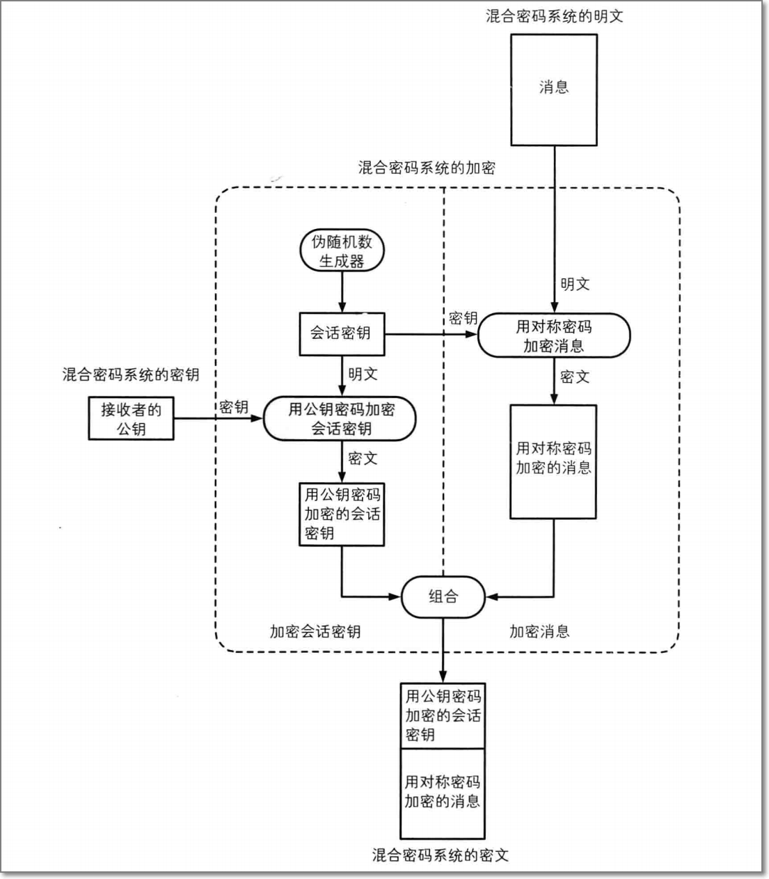
- 混合密码系统介绍

server端:ctx = SSL_CTX_new (SSLv23_server_method());
ssl = SSL_new (ctx);
fd = socket ();
bind ();
listen ();
accept ();
SSL_set_fd (ssl, fd);
SSL_accept (ssl);
SSL_read ();
client端:
ctx = SSL_CTX_new (SSLv23_client_method());
ssl = SSL_new (ctx);
fd = socket ();
connect ();
SSL_set_fd (ssl, fd);
SSL_connect (ssl);
SSL_write ();
实验代码: #include <stdio.h>
#include <stdlib.h>
#include <errno.h>
#include <string.h>
#include <sys/types.h>
#include <netinet/in.h>
#include <sys/socket.h>
#include <sys/wait.h>
#include <unistd.h>
#include <arpa/inet.h>
#include <openssl/ssl.h>
#include <openssl/err.h>
#include <openssl/evp.h>
#define MAXBUF 1024
int main(int argc, char **argv)
{
int sockfd, new_fd;
socklen_t len;
struct sockaddr_in my_addr, their_addr;
unsigned int myport, lisnum;
char buf[MAXBUF + 1];
SSL_CTX *ctx;
if (argv[1])
myport = atoi(argv[1]);
else
myport = 7838;
if (argv[2])
lisnum = atoi(argv[2]);
else
lisnum = 2;
/* SSL 库初始化 */
SSL_library_init();
/* 载入所有 SSL 算法 */
OpenSSL_add_all_algorithms();
/* 载入所有 SSL 错误消息 */
SSL_load_error_strings();
/* 以 SSL V2 和 V3 标准兼容方式产生一个 SSL_CTX ,即 SSL Content Text */
ctx = SSL_CTX_new(SSLv23_server_method());
/* 也可以用 SSLv2_server_method() 或 SSLv3_server_method() 单独表示 V2 或 V3标准 */
if (ctx == NULL) {
ERR_print_errors_fp(stdout);
exit(1);
}
/* 载入用户的数字证书, 此证书用来发送给客户端。 证书里包含有公钥 */
if (SSL_CTX_use_certificate_file(ctx, argv[3], SSL_FILETYPE_PEM) <= 0) {
ERR_print_errors_fp(stdout);
exit(1);
}
/* 载入用户私钥 */
if (SSL_CTX_use_PrivateKey_file(ctx, argv[4], SSL_FILETYPE_PEM) <= 0){
ERR_print_errors_fp(stdout);
exit(1);
}
/* 检查用户私钥是否正确 */
if (!SSL_CTX_check_private_key(ctx)) {
ERR_print_errors_fp(stdout);
exit(1);
}
/* 开启一个 socket 监听 */
if ((sockfd = socket(PF_INET, SOCK_STREAM, 0)) == -1) {
perror("socket");
exit(1);
} else
printf("socket created\n");
bzero(&my_addr, sizeof(my_addr));
my_addr.sin_family = PF_INET;
my_addr.sin_port = htons(myport);
my_addr.sin_addr.s_addr = INADDR_ANY;
if (bind(sockfd, (struct sockaddr *) &my_addr, sizeof(struct sockaddr))
== -1) {
perror("bind");
exit(1);
} else
printf("binded\n");
if (listen(sockfd, lisnum) == -1) {
perror("listen");
exit(1);
} else
printf("begin listen\n");
while (1) {
SSL *ssl;
len = sizeof(struct sockaddr);
/* 等待客户端连上来 */
if ((new_fd =
accept(sockfd, (struct sockaddr *) &their_addr,
&len)) == -1) {
perror("accept");
exit(errno);
} else
printf("server: got connection from %s, port %d, socket %d\n",
inet_ntoa(their_addr.sin_addr),
ntohs(their_addr.sin_port), new_fd);
/* 基于 ctx 产生一个新的 SSL */
ssl = SSL_new(ctx);
/* 将连接用户的 socket 加入到 SSL */
SSL_set_fd(ssl, new_fd);
/* 建立 SSL 连接 */
if (SSL_accept(ssl) == -1) {
perror("accept");
close(new_fd);
break;
}
/* 开始处理每个新连接上的数据收发 */
bzero(buf, MAXBUF + 1);
strcpy(buf, "server->client");
/* 发消息给客户端 */
len = SSL_write(ssl, buf, strlen(buf));
if (len <= 0) {
printf
("'%s'发送失败!错误代码:%d,错误信息:'%s'\n",
buf, errno, strerror(errno));
goto finish;
} else
printf("'%s'发送成功!共发送%d个字节!\n",
buf, len);
bzero(buf, MAXBUF + 1);
/* 接收客户端的消息 */
len = SSL_read(ssl, buf, MAXBUF);
if (len > 0)
printf("'%s'接收成功!共接收%d个字节的数据!\n",
buf, len);
else
printf
("接收失败!错误代码:%d,错误信息:'%s'\n",
errno, strerror(errno));
/* 处理每个新连接上的数据收发结束 */
finish:
/* 关闭 SSL 连接 */
SSL_shutdown(ssl);
/* 释放 SSL */
SSL_free(ssl);
/* 关闭 socket */
close(new_fd);
}
/* 关闭监听的 socket */
close(sockfd);
/* 释放 CTX */
SSL_CTX_free(ctx);
return 0;
client:#include <stdio.h>
#include <stdlib.h>
#include <errno.h>
#include <string.h>
#include <sys/types.h>
#include <netinet/in.h>
#include <sys/socket.h>
#include <sys/wait.h>
#include <unistd.h>
#include <arpa/inet.h>
#include <openssl/ssl.h>
#include <openssl/err.h>
#include <openssl/evp.h>
#define MAXBUF 1024
int main(int argc, char **argv)
{
int sockfd, new_fd;
socklen_t len;
struct sockaddr_in my_addr, their_addr;
unsigned int myport, lisnum;
char buf[MAXBUF + 1];
SSL_CTX *ctx;
if (argv[1])
myport = atoi(argv[1]);
else
myport = 7838;
if (argv[2])
lisnum = atoi(argv[2]);
else
lisnum = 2;
/* SSL 库初始化 */
SSL_library_init();
/* 载入所有 SSL 算法 */
OpenSSL_add_all_algorithms();
/* 载入所有 SSL 错误消息 */
SSL_load_error_strings();
/* 以 SSL V2 和 V3 标准兼容方式产生一个 SSL_CTX ,即 SSL Content Text */
ctx = SSL_CTX_new(SSLv23_server_method());
/* 也可以用 SSLv2_server_method() 或 SSLv3_server_method() 单独表示 V2 或 V3标准 */
if (ctx == NULL) {
ERR_print_errors_fp(stdout);
exit(1);
}
/* 载入用户的数字证书, 此证书用来发送给客户端。 证书里包含有公钥 */
if (SSL_CTX_use_certificate_file(ctx, argv[3], SSL_FILETYPE_PEM) <= 0) {
ERR_print_errors_fp(stdout);
exit(1);
}
/* 载入用户私钥 */
if (SSL_CTX_use_PrivateKey_file(ctx, argv[4], SSL_FILETYPE_PEM) <= 0){
ERR_print_errors_fp(stdout);
exit(1);
}
/* 检查用户私钥是否正确 */
if (!SSL_CTX_check_private_key(ctx)) {
ERR_print_errors_fp(stdout);
exit(1);
}
/* 开启一个 socket 监听 */
if ((sockfd = socket(PF_INET, SOCK_STREAM, 0)) == -1) {
perror("socket");
exit(1);
} else
printf("socket created\n");
bzero(&my_addr, sizeof(my_addr));
my_addr.sin_family = PF_INET;
my_addr.sin_port = htons(myport);
my_addr.sin_addr.s_addr = INADDR_ANY;
if (bind(sockfd, (struct sockaddr *) &my_addr, sizeof(struct sockaddr))
== -1) {
perror("bind");
exit(1);
} else
printf("binded\n");
if (listen(sockfd, lisnum) == -1) {
perror("listen");
exit(1);
} else
printf("begin listen\n");
while (1) {
SSL *ssl;
len = sizeof(struct sockaddr);
/* 等待客户端连上来 */
if ((new_fd =
accept(sockfd, (struct sockaddr *) &their_addr,
&len)) == -1) {
perror("accept");
exit(errno);
} else
printf("server: got connection from %s, port %d, socket %d\n",
inet_ntoa(their_addr.sin_addr),
ntohs(their_addr.sin_port), new_fd);
/* 基于 ctx 产生一个新的 SSL */
ssl = SSL_new(ctx);
/* 将连接用户的 socket 加入到 SSL */
SSL_set_fd(ssl, new_fd);
/* 建立 SSL 连接 */
if (SSL_accept(ssl) == -1) {
perror("accept");
close(new_fd);
break;
}
/* 开始处理每个新连接上的数据收发 */
bzero(buf, MAXBUF + 1);
strcpy(buf, "server->client");
/* 发消息给客户端 */
len = SSL_write(ssl, buf, strlen(buf));
if (len <= 0) {
printf
("'%s'发送失败!错误代码:%d,错误信息:'%s'\n",
buf, errno, strerror(errno));
goto finish;
} else
printf("'%s'发送成功!共发送%d个字节!\n",
buf, len);
bzero(buf, MAXBUF + 1);
/* 接收客户端的消息 */
len = SSL_read(ssl, buf, MAXBUF);
if (len > 0)
printf("'%s'接收成功!共接收%d个字节的数据!\n",
buf, len);
else
printf
("接收失败!错误代码:%d,错误信息:'%s'\n",
errno, strerror(errno));
/* 处理每个新连接上的数据收发结束 */
finish:
/* 关闭 SSL 连接 */
SSL_shutdown(ssl);
/* 释放 SSL */
SSL_free(ssl);
/* 关闭 socket */
close(new_fd);
}
/* 关闭监听的 socket */
close(sockfd);
/* 释放 CTX */
SSL_CTX_free(ctx);
return 0;
运行结果

任务三
未完成
实验总结
我在OpenSSL安装目录中并没有找到可执行文件configure,但却发现了两个与之非常相似的可执行文件config和Configure,于是便不假思索地输入命令./Configure,导致到make install这一步时出错,错误原因未知...
解决方法:
正解自然是用./config命令执行可执行文件config,再make和make install,该问题便迎刃而解了:
