我们准备利用17天时间,将 Python 基础的刻意练习分为如下任务:
Task01:变量、运算符与数据类型(1day)
Task02:条件与循环(1day)
Task03:列表与元组(2day)
Task04:字符串与序列(1day)
Task05:函数与Lambda表达式(2day)
Task06:字典与集合(1day)
Task07:文件与文件系统(2day)
Task08:异常处理(1day)
Task09:else 与 with 语句(1day)
Task10:类与对象(2day)
Task11:魔法方法(2day)
Task12:模块(1day)
摘要:
- 此章节是 对pyhon 字符串 方法的一些操作
- list 的一些内置方法
Python基础语法
1. 字符串
字符串的定义
- Python 中字符串被定义为引号之间的字符集合。
- Python 支持使用成对的 单引号 或 双引号。
t1 = 'i love Python!'
print(t1, type(t1))
# i love Python! <class 'str'>
t2 = "I love Python!"
print(t2, type(t2))
# I love Python! <class 'str'>
print(5 + 8) # 13
print('5' + '8') # 58
- 如果字符串中需要出现单引号或双引号,可以使用转义符号\对字符串中的符号进行转义。
print('let\'s go') # let's go
print("let's go") # let's go
print('C:\\now') # C:\now
print("C:\\Program Files\\Intel\\Wifi\\Help") # C:\Program Files\Intel\Wifi\Help
- Python 的常用转义字符

- 原始字符串只需要在字符串前边加一个英文字母 r 即可。
print(r'C:\Program Files\Intel\Wifi\Help')
# C:\Program Files\Intel\Wifi\Help
python三引号允许一个字符串跨多行,字符串中可以包含换行符、制表符以及其他特殊字符。
para_str = """这是一个多行字符串的实例
多行字符串可以使用制表符
TAB ( \t )。
也可以使用换行符 [ \n ]。
"""
print (para_str)
'''
这是一个多行字符串的实例
多行字符串可以使用制表符
TAB ( )。
也可以使用换行符 [
]。
'''
字符串的切片与拼接
- 类似于元组具有不可修改性
- 从 0 开始 (和 C 一样)
- 切片通常写成 start:end 这种形式,包括「start 索引」对应的元素,不包括「end索引」对应的元素。
- 索引值可正可负,正索引从 0 开始,从左往右;负索引从 -1 开始,从右往左。使用负数索引时,会从最后一个元素开始计数。最后一个元素的位置编号是 -1。
str1 = 'I Love LsgoGroup'
print(str1[:6]) # I Love
print(str1[5]) # e
print(str1[:6] + " 插入的字符串 " + str1[6:])
# I Love 插入的字符串 LsgoGroup
s = 'Python'
print(s) # Python
print(s[2:4]) # th
print(s[-5:-2]) # yth
print(s[2]) # t
print(s[-1]) # n
字符串的常用内置方法
- capitalize() 将字符串的第一个字符转换为大写。
str2 = 'xiaoxie'
print(str2.capitalize()) # Xiaoxie
- lower() 转换字符串中所有大写字符为小写。
- upper() 转换字符串中的小写字母为大写。
- swapcase() 将字符串中大写转换为小写,小写转换为大写。
str2 = "DAXIExiaoxie"
print(str2.lower()) # daxiexiaoxie
print(str2.upper()) # DAXIEXIAOXIE
print(str2.swapcase()) # daxieXIAOXIE
- count(str, beg= 0,end=len(string)) 返回str在 string 里面出现的次数,如果beg或者end指定则返回指定范围内str出现的次数。
str2 = "DAXIExiaoxie"
print(str2.count('xi')) # 2
- endswith(suffix, beg=0, end=len(string)) 检查字符串是否以指定子字符串 suffix 结束,如果是,返回 True,否则返回 False。如果 beg 和 end 指定值,则在指定范围内检查。
- startswith(substr, beg=0,end=len(string)) 检查字符串是否以指定子字符串 substr 开头,如果是,返回 True,否则返回 False。如果 beg 和 end 指定值,则在指定范围内检查。
str2 = "DAXIExiaoxie"
print(str2.endswith('ie')) # True
print(str2.endswith('xi')) # False
print(str2.startswith('Da')) # False
print(str2.startswith('DA')) # True
- find(str, beg=0, end=len(string)) 检测 str 是否包含在字符串中,如果指定范围 beg 和 end,则检查是否包含在指定范围内,如果包含,返回开始的索引值,否则返回 -1。
- rfind(str, beg=0,end=len(string)) 类似于 find() 函数,不过是从右边开始查找。
str2 = "DAXIExiaoxie"
print(str2.find('xi')) # 5
print(str2.find('ix')) # -1
print(str2.rfind('xi')) # 9
- isnumeric() 如果字符串中只包含数字字符,则返回 True,否则返回 False。
str3 = '12345'
print(str3.isnumeric()) # True
str3 += 'a'
print(str3.isnumeric()) # False
- ljust(width[, fillchar])返回一个原字符串左对齐,并使用fillchar(默认空格)填充至长度width的新字符串。
- rjust(width[, fillchar])返回一个原字符串右对齐,并使用fillchar(默认空格)填充至长度width的新字符串。
str4 = '1101'
print(str4.ljust(8, '0')) # 11010000
print(str4.rjust(8, '0')) # 00001101
- lstrip([chars]) 截掉字符串左边的空格或指定字符。
- rstrip([chars]) 删除字符串末尾的空格或指定字符。
- strip([chars]) 在字符串上执行lstrip()和rstrip()。
str5 = ' I Love LsgoGroup '
print(str5.lstrip()) # 'I Love LsgoGroup '
print(str5.lstrip().strip('I')) # ' Love LsgoGroup '
print(str5.rstrip()) # ' I Love LsgoGroup'
print(str5.strip()) # 'I Love LsgoGroup'
print(str5.strip().strip('p')) # 'I Love LsgoGrou'
- partition(sub) 找到子字符串sub,把字符串分为一个三元组(pre_sub,sub,fol_sub),如果字符串中不包含sub则返回(‘原字符串’,’’,’’)。
- rpartition(sub)类似于partition()方法,不过是从右边开始查找。
str5 = ' I Love LsgoGroup '
print(str5.strip().partition('o')) # ('I L', 'o', 've LsgoGroup')
print(str5.strip().partition('m')) # ('I Love LsgoGroup', '', '')
print(str5.strip().rpartition('o')) # ('I Love LsgoGr', 'o', 'up')
- replace(old, new [, max]) 把 将字符串中的old替换成new,如果max指定,则替换不超过max次。
str5 = ' I Love LsgoGroup '
print(str5.strip().replace('I', 'We')) # We Love LsgoGroup
split(str="", num) 不带参数默认是以空格为分隔符切片字符串,如果num参数有设置,则仅分隔num个子字符串,返回切片后的子字符串拼接的列表。
str5 = ' I Love LsgoGroup '
print(str5.strip().split()) # ['I', 'Love', 'LsgoGroup']
print(str5.strip().split('o')) # ['I L', 've Lsg', 'Gr', 'up']
splitlines([keepends]) 按照行(’\r’, ‘\r\n’, \n’)分隔,返回一个包含各行作为元素的列表,如果参数keepends为 False,不包含换行符,如果为 True,则保留换行符。
str6 = 'I \n Love \n LsgoGroup'
print(str6.splitlines()) # ['I ', ' Love ', ' LsgoGroup']
print(str6.splitlines(True)) # ['I \n', ' Love \n', ' LsgoGroup']
maketrans(intab, outtab) 创建字符映射的转换表,第一个参数是字符串,表示需要转换的字符,第二个参数也是字符串表示转换的目标。
translate(table, deletechars="") 根据参数table给出的表,转换字符串的字符,要过滤掉的字符放到deletechars参数中。
str = 'this is string example....wow!!!'
intab = 'aeiou'
outtab = '12345'
trantab = str.maketrans(intab, outtab)
print(trantab) # {97: 49, 111: 52, 117: 53, 101: 50, 105: 51}
print(str.translate(trantab)) # th3s 3s str3ng 2x1mpl2....w4w!!!
字符串格式化
Python format 格式化函数
str = "{0} Love {1}".format('I', 'Lsgogroup') # 位置参数
print(str) # I Love Lsgogroup
str = "{a} Love {b}".format(a='I', b='Lsgogroup') # 关键字参数
print(str) # I Love Lsgogroup
str = "{0} Love {b}".format('I', b='Lsgogroup') # 位置参数要在关键字参数之前
print(str) # I Love Lsgogroup
str = '{0:.2f}{1}'.format(27.658, 'GB') # 保留小数点后两位
print(str) # 27.66GB
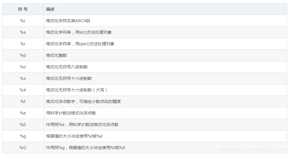
Python 字符串格式化符号
print('%c' % 97) # a
print('%c %c %c' % (97, 98, 99)) # a b c
print('%d + %d = %d' % (4, 5, 9)) # 4 + 5 = 9
print("我叫 %s 今年 %d 岁!" % ('小明', 10)) # 我叫 小明 今年 10 岁!
print('%o' % 10) # 12
print('%x' % 10) # a
print('%X' % 10) # A
print('%f' % 27.658) # 27.658000
print('%e' % 27.658) # 2.765800e+01
print('%E' % 27.658) # 2.765800E+01
print('%g' % 27.658) # 27.658
text = "I am %d years old." % 22
print("I said: %s." % text) # I said: I am 22 years old..
print("I said: %r." % text) # I said: 'I am 22 years old.'
- 格式化操作符辅助指令

print('%5.1f' % 27.658) # ' 27.7'
print('%.2e' % 27.658) # 2.77e+01
print('%10d' % 10) # ' 10'
print('%-10d' % 10) # '10 '
print('%+d' % 10) # +10
print('%#o' % 10) # 0o12
print('%#x' % 108) # 0x6c
print('%010d' % 5) # 0000000005
2. 针对序列的内置函数
- list(sub) 把一个可迭代对象转换为列表。
a = list()
print(a) # []
b = 'I Love LsgoGroup'
b = list(b)
print(b)
# ['I', ' ', 'L', 'o', 'v', 'e', ' ', 'L', 's', 'g', 'o', 'G', 'r', 'o', 'u', 'p']
c = (1, 1, 2, 3, 5, 8)
c = list(c)
print(c) # [1, 1, 2, 3, 5, 8]
- tuple(sub) 把一个可迭代对象转换为元组。
a = tuple()
print(a) # ()
b = 'I Love LsgoGroup'
b = tuple(b)
print(b)
# ('I', ' ', 'L', 'o', 'v', 'e', ' ', 'L', 's', 'g', 'o', 'G', 'r', 'o', 'u', 'p')
c = [1, 1, 2, 3, 5, 8]
c = tuple(c)
print(c) # (1, 1, 2, 3, 5, 8)
str(obj) 把obj对象转换为字符串
a = 123
a = str(a)
print(a) # 123
len(sub) 返回sub包含元素的个数
a = list()
print(len(a)) # 0
b = ('I', ' ', 'L', 'o', 'v', 'e', ' ', 'L', 's', 'g', 'o', 'G', 'r', 'o', 'u', 'p')
print(len(b)) # 16
c = 'I Love LsgoGroup'
print(len(c)) # 16
max(sub)返回序列或者参数集合中的最大值
print(max(1, 2, 3, 4, 5)) # 5
print(max([-8, 99, 3, 7, 83])) # 99
print(max('IloveLsgoGroup')) # v
min(sub)返回序列或参数集合中的最小值
print(min(1, 2, 3, 4, 5)) # 1
print(min([-8, 99, 3, 7, 83])) # -8
print(min('IloveLsgoGroup')) # G
sum(iterable[, start=0]) 返回序列iterable与可选参数start的总和。
print(sum([1, 3, 5, 7, 9])) # 25
print(sum([1, 3, 5, 7, 9], 10)) # 35
print(sum((1, 3, 5, 7, 9))) # 25
print(sum((1, 3, 5, 7, 9), 20)) # 45
sorted(iterable, key=None, reverse=False) 对所有可迭代的对象进行排序操作。
numbers = [-8, 99, 3, 7, 83]
print(sorted(numbers)) # [-8, 3, 7, 83, 99]
print(sorted(numbers, reverse=True)) # [99, 83, 7, 3, -8]
reversed() 用于反向列表中元素。
numbers = [-8, 99, 3, 7, 83]
a = list(reversed(numbers))
print(a) # [83, 7, 3, 99, -8]
enumerate(sequence, [start=0])
用于将一个可遍历的数据对象(如列表、元组或字符串)组合为一个索引序列,同时列出数据和数据下标,一般用在 for 循环当中。
seasons = ['Spring', 'Summer', 'Fall', 'Winter']
a = list(enumerate(seasons))
print(a) # [(0, 'Spring'), (1, 'Summer'), (2, 'Fall'), (3, 'Winter')]
b = list(enumerate(seasons, 1))
print(b) # [(1, 'Spring'), (2, 'Summer'), (3, 'Fall'), (4, 'Winter')]
for i, element in a:
print('{0},{1}'.format(i, element))
zip([iterable, …])
用于将可迭代的对象作为参数,将对象中对应的元素打包成一个个元组,然后返回由这些元组组成的对象,这样做的好处是节约了不少的内存。
我们可以使用 list() 转换来输出列表。
如果各个迭代器的元素个数不一致,则返回列表长度与最短的对象相同,利用 * 号操作符,可以将元组解压为列表。
a = [1, 2, 3]
b = [4, 5, 6]
c = [4, 5, 6, 7, 8]
zipped = zip(a, b)
print(zipped) # <zip object at 0x000000C5D89EDD88>
print(list(zipped)) # [(1, 4), (2, 5), (3, 6)]
zipped = zip(a, c)
print(list(zipped)) # [(1, 4), (2, 5), (3, 6)]
a1, a2 = zip(*zip(a, b))
print(list(a1)) # [1, 2, 3]
print(list(a2)) # [4, 5, 6]
来源:https://blog.csdn.net/NumberOneStudent/article/details/102732906

